Inspection After Installation
WARNING: This page is about a different car, the 2005 Nissan Frontier. However, it is still accessible from the selected car via links, so may be relevant.
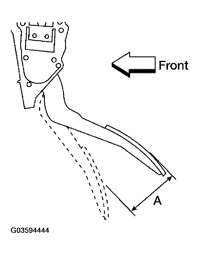
- Check that the accelerator pedal moves smoothly within the specified range.
Accelerator pedal - total pedal applied stroke "A" : 48 mm (1.89 in)
- Check that the accelerator pedal smoothly returns to the original position.
- Perform an electrical inspection of the accelerator pedal position sensor. Refer to "DTC P2138 APP SENSOR " (QR), "DTC P2138 APP SENSOR " (VQ).
CAUTION:
When the harness connector of the accelerator pedal position sensor is disconnected, perform "Accelerator Pedal Released Position Learning". Refer to
"ACCELERATOR PEDAL RELEASED POSITION LEARNING
" (QR),
"ACCELERATOR PEDAL RELEASED POSITION LEARNING
" (VQ).