lemon-mirror:
Home >> Nissan-Datsun >> 2003 >> Sentra SE-R, Automatic >> Repair and Diagnosis >> External Pages >> Different car >> Section 1713 (Transfer Case) >> TX15B >> 4WD System >> System Diagram >> Notes

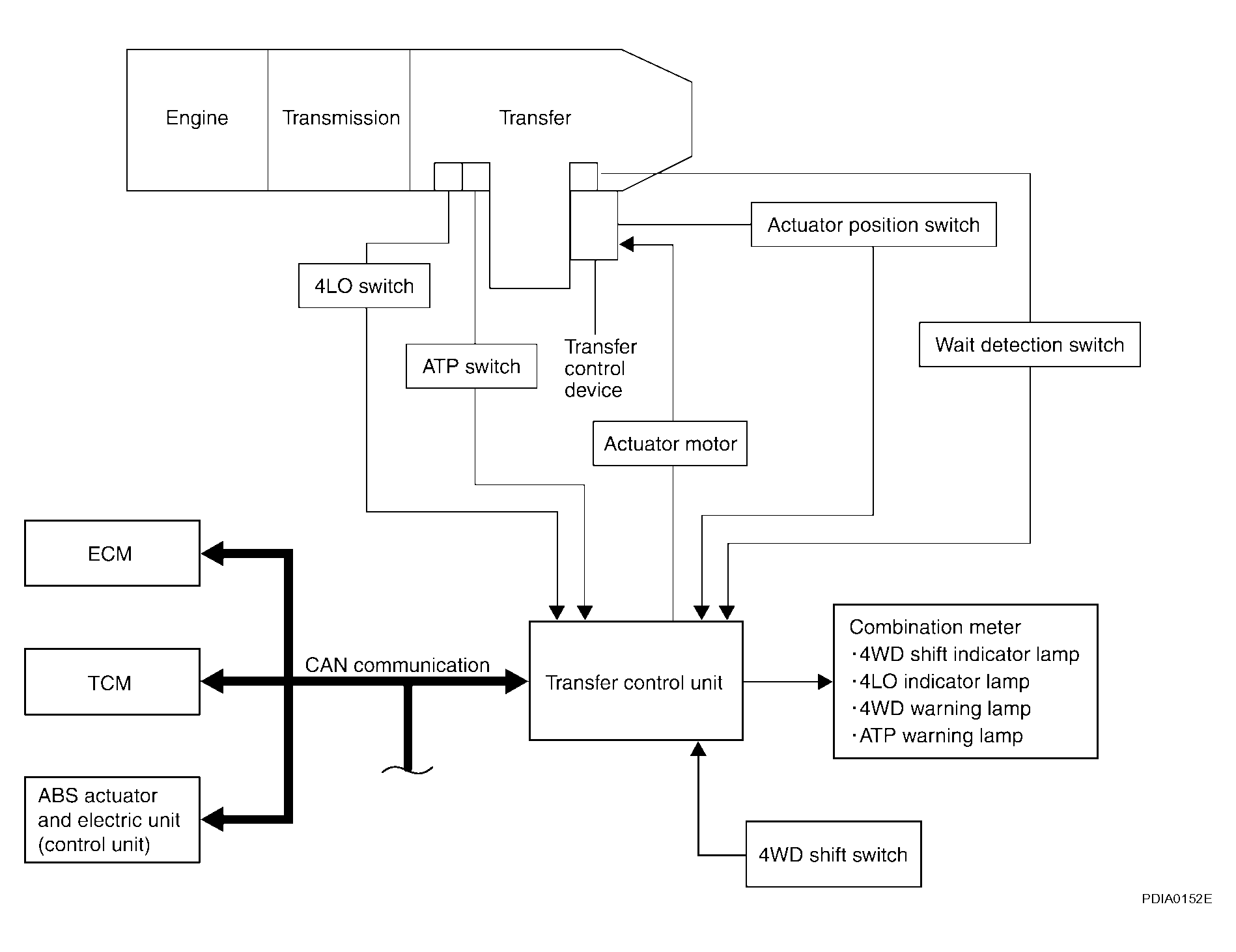
System Diagram: Notes

WARNING: This page is about a different car, the 2006 Nissan Pathfinder. However, it is still accessible from the selected car via links, so may be relevant.
Fig 1: ATP Warning System Diagram
G04174791Courtesy of NISSAN MOTOR CO., U.S.A.