lemon-mirror:
Home >> Nissan-Datsun >> 2004 >> Sentra SE-R >> Repair and Diagnosis >> External Pages >> Different car >> Section 1110 (Engine Control System) >> DTC P1217: Engine Over Temperature >> Overall Function Check

Overall Function Check

WARNING: This page is about a different car, the 2004 Nissan Murano. However, it is still accessible from the selected car via links, so may be relevant.

Use this procedure to check the overall function of the cooling fan. During this check, a DTC might not be confirmed.

WARNING: Never remove the radiator cap when the engine is hot. Serious burns could be caused by high pressure fluid escaping from the radiator.
Wrap a thick cloth around cap. Carefully remove the cap by turning it a quarter turn to allow built-up pressure to escape. Then turn the cap all the way off.

With CONSULT-II 

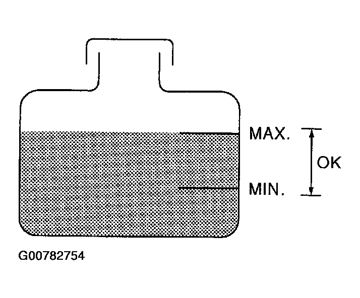
  1. Check the coolant level in the reservoir tank and radiator.

    Allow engine to cool before checking coolant level. 

    If the coolant level in the reservoir tank and/or radiator is below the proper range, skip the following steps and go to "DIAGNOSTIC PROCEDURE ".

  2. Confirm whether customer filled the coolant or not. If customer filled the coolant, skip the following steps and go to "DIAGNOSTIC PROCEDURE ".
  3. Turn ignition switch ON.
    Fig 1: Checking Coolant Level In Reservoir Tank And Radiator
    G00782754Courtesy of NISSAN MOTOR CO., U.S.A.
  4. Perform "COOLING FAN" in "ACTIVE TEST" mode with CONSULT-II.
  5. If the results are NG, go to "DIAGNOSTIC PROCEDURE ".
    Fig 2: Displaying "COOLING FAN" In "ACTIVE TEST" Mode With CONSULT-II
    G00782755Courtesy of NISSAN MOTOR CO., U.S.A.

With GST 

  1. Check the coolant level in the reservoir tank and radiator.

    Allow engine to cool before checking coolant level. 

    If the coolant level in the reservoir tank and/or radiator is below the proper range, skip the following steps and go to "DIAGNOSTIC PROCEDURE ".

  2. Confirm whether customer filled the coolant or not. If customer filled the coolant, skip the following steps and go to "DIAGNOSTIC PROCEDURE ".
    Fig 3: Checking Coolant Level In Reservoir Tank And Radiator
    G00782756Courtesy of NISSAN MOTOR CO., U.S.A.
  3. Start engine.

    Be careful not to overheat engine. 

  4. Turn air conditioner switch ON.
  5. Turn blower fan switch ON.
  6. Make sure that cooling fan operates at low speed.

    If NG, go to "DIAGNOSTIC PROCEDURE ".

    If OK, go to the following step.

  7. Turn ignition switch OFF.
  8. Turn air conditioner switch and blower fan switch OFF.
  9. Disconnect engine coolant temperature sensor harness connector.
  10. Connect 150° resistor to engine coolant temperature sensor harness connector.
    Fig 4: Identifying Cooling Fan
    G00782757Courtesy of NISSAN MOTOR CO., U.S.A.
  11. Restart engine and make sure that cooling fan operates at higher speed than low speed.

    Be careful not to overheat engine. 

  12. If NG, go to "DIAGNOSTIC PROCEDURE ".
    Fig 5: Identifying Engine Coolant Temperature Sensor Harness Connector
    G00782758Courtesy of NISSAN MOTOR CO., U.S.A.