lemon-mirror:
Home >> Nissan-Datsun >> 2004 >> Sentra SE-R >> Repair and Diagnosis >> External Pages >> Different car >> Section 1445 (Brake Control System) >> VDC/TCS/Abs >> System Description >> System Diagram

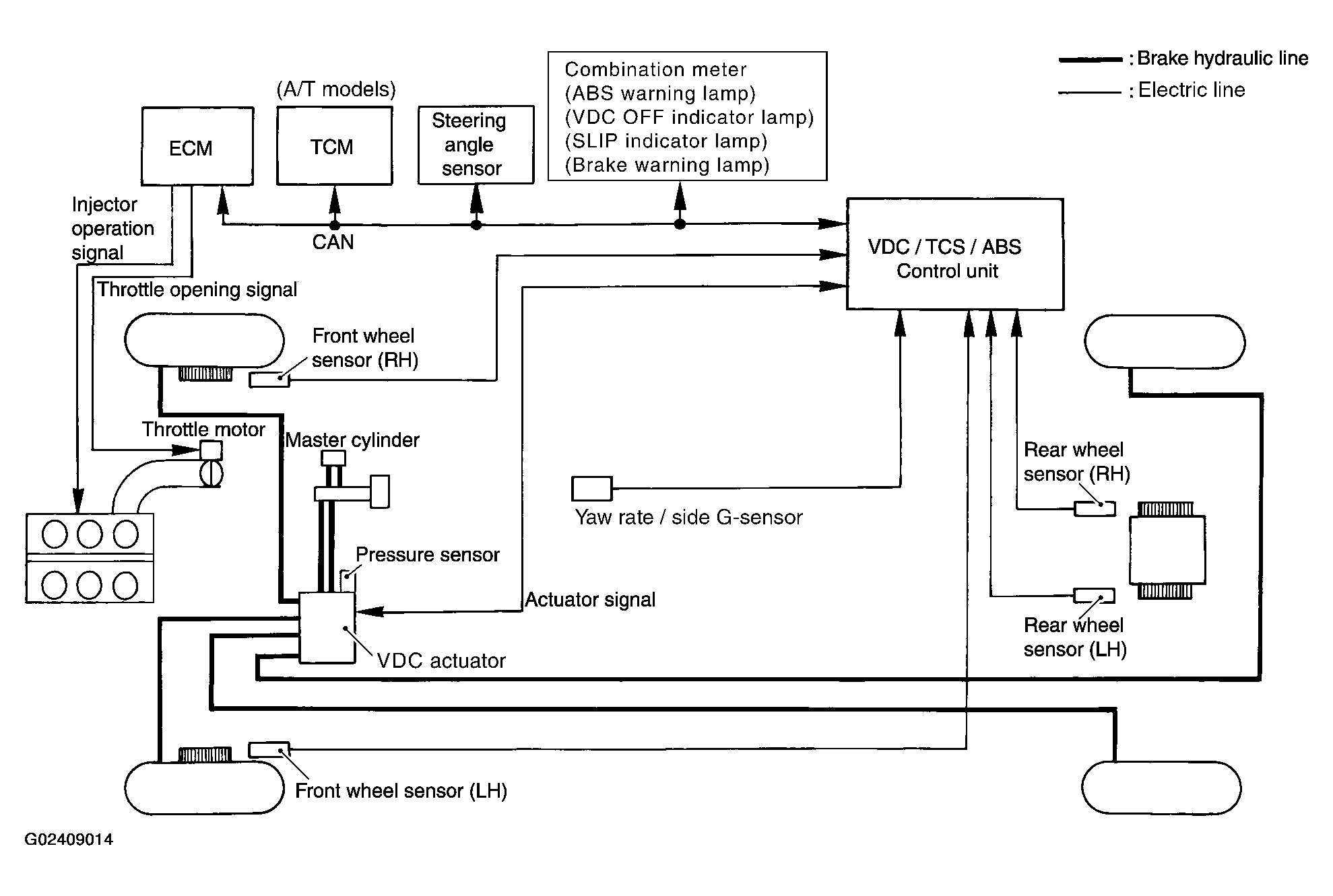
System Diagram

WARNING: This page is about a different car, the 2005 Nissan 350Z. However, it is still accessible from the selected car via links, so may be relevant.
Fig 1: Brake Control System Diagram - VDC/TCS/ABS
G02409014Courtesy of NISSAN MOTOR CO., U.S.A.