lemon-mirror:
Home >> Nissan-Datsun >> 2004 >> Sentra SE-R >> Repair and Diagnosis >> External Pages >> Different car >> Section 1549 (Automatic Transmission) >> A/T Control System >> TCM Function >> Control System Diagram

Control System Diagram

WARNING: This page is about a different car, the 2005 Nissan Titan. However, it is still accessible from the selected car via links, so may be relevant.
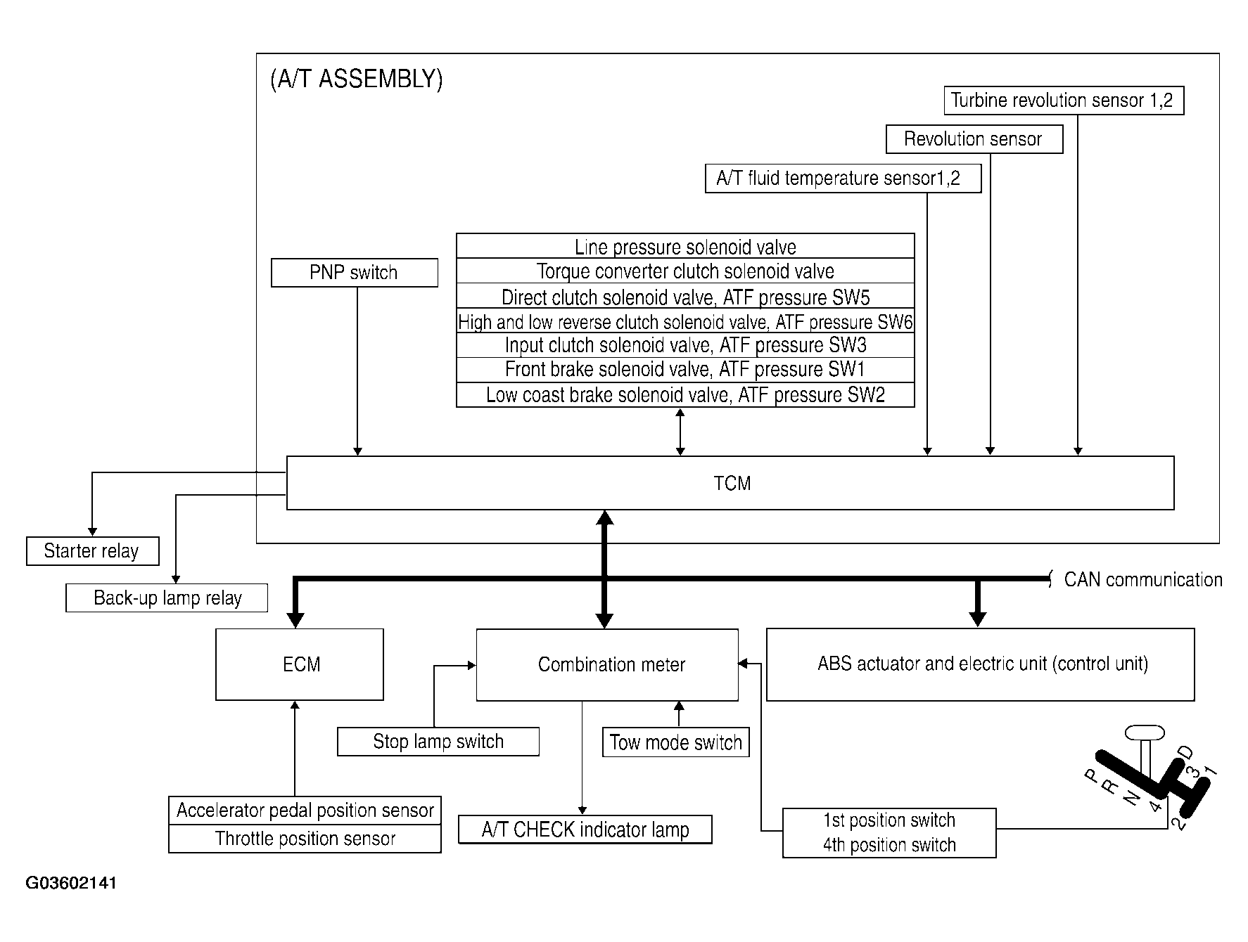
Fig 1: System Diagram - Control System
G03602141Courtesy of NISSAN MOTOR CO., U.S.A.


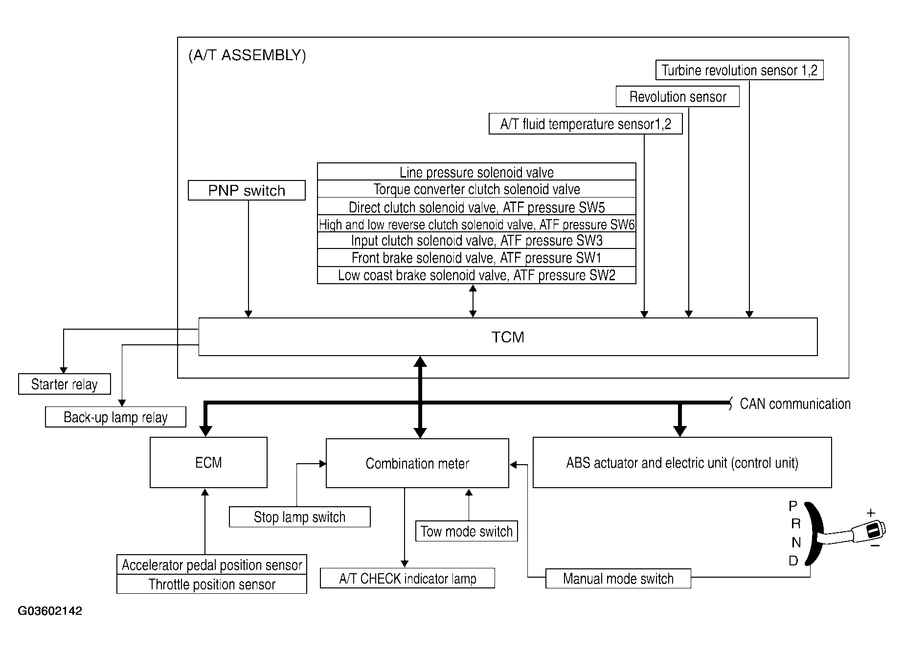
Fig 1: Control System Diagram
G03602142Courtesy of NISSAN MOTOR CO., U.S.A.