lemon-mirror:
Home >> Nissan-Datsun >> 2004 >> Sentra SE-R >> Repair and Diagnosis >> External Pages >> Different car >> Section 1563 (Transfer Case) >> Transfer Assembly >> Disassembly and Assembly >> Disassembly

Disassembly and Assembly: Disassembly

WARNING: This page is about a different car, the 2005 Nissan Titan. However, it is still accessible from the selected car via links, so may be relevant.
  1. Remove drain plug and filler plug.
  2. Remove transfer control device from rear case.
  3. Remove O-ring from transfer control device.
    Fig 1: Removing O-Ring From Transfer Control Device
    G03602807Courtesy of NISSAN MOTOR CO., U.S.A.
  4. Remove the self-lock nut from the companion flange, using Tool.

    Tool number: KV40104000 (-) 

    Fig 2: Removing Self-Lock Nut From Companion Flange
    G03602808Courtesy of NISSAN MOTOR CO., U.S.A.
  5. Put a matching mark on top of the front drive shaft in line with the mark on the companion flange.
    CAUTION: Use paint to make the matching mark on the front drive shaft. Do not damage the front drive shaft.
    Fig 3: Identifying Match Mark On Top Of Front Drive Shaft
    G03602809Courtesy of NISSAN MOTOR CO., U.S.A.
  6. Remove the companion flange, using suitable tool.
    Fig 4: Removing Companion Flange
    G03602810Courtesy of NISSAN MOTOR CO., U.S.A.
  7. Remove front oil seal from front case, using Tool.

    Tool number: ST33290001 (J-34286) 

    CAUTION: Do not damage the front case or front drive shaft.
    Fig 5: Removing Front Oil Seal From Front Case
    G03602811Courtesy of NISSAN MOTOR CO., U.S.A.
  8. Remove the 4LO switch [gray (with green paint)] and ATP switch (black) from front case.
    Fig 6: Removing 4LO Switch And ATP Switch From Front Case
    G03602812Courtesy of NISSAN MOTOR CO., U.S.A.
  9. Remove wait detection switch (gray) from rear case.
    Fig 7: Removing Wait Detection Switch From Rear Case
    G03602813Courtesy of NISSAN MOTOR CO., U.S.A.
  10. Remove dust cover from rear case, using suitable tool.
    CAUTION: Do not damage the rear case.
    Fig 8: Removing Dust Cover From Rear Case
    G03602814Courtesy of NISSAN MOTOR CO., U.S.A.
  11. Remove rear oil seal from rear case, using Tool.

    Tool number: ST33290001 (J-34286) 

    CAUTION: Do not damage the rear case or mainshaft.
    Fig 9: Removing Rear Oil Seal From Rear Case
    G03602815Courtesy of NISSAN MOTOR CO., U.S.A.
  12. Remove the input oil seal from front case, using suitable tool.
    CAUTION: Do not damage the front case, sun gear or input bearing.
    Fig 10: Removing Input Oil Seal From Front Case
    G03602816Courtesy of NISSAN MOTOR CO., U.S.A.
  13. Remove the retainer bolts and gaskets.
    Fig 11: Removing Retainer Bolts And Gaskets
    G03602817Courtesy of NISSAN MOTOR CO., U.S.A.
  14. Remove rear case bolts and harness bracket from rear case.
    Fig 12: Removing Rear Case Bolts And Harness Bracket From Rear Case
    G03602818Courtesy of NISSAN MOTOR CO., U.S.A.
  15. Separate front case and rear case. Then remove rear case by prying it up, using suitable tool.
    CAUTION: Do not damage the mating surface.
  16. Remove spacer from the control shift rod.
    CAUTION: Do not drop spacer.
    Fig 13: Removing Spacer From Control Shift Rod
    G03602819Courtesy of NISSAN MOTOR CO., U.S.A.
  17. Remove snap ring from mainshaft, using suitable tool.
    Fig 14: Removing Snap Ring From Mainshaft
    G03602820Courtesy of NISSAN MOTOR CO., U.S.A.
  18. Remove the mainshaft rear bearing from mainshaft, using suitable tool.
  19. Remove retainer from mainshaft.
    Fig 15: Removing Retainer From Mainshaft
    G03602821Courtesy of NISSAN MOTOR CO., U.S.A.
  20. Remove snap ring from mainshaft, using suitable tool.
  21. Remove oil pump assembly from mainshaft.
    Fig 16: Removing Oil Pump Assembly From Mainshaft
    G03602822Courtesy of NISSAN MOTOR CO., U.S.A.
  22. Remove snap ring from mainshaft, using suitable tool.
  23. Remove clutch gear from mainshaft.
    Fig 17: Removing Clutch Gear From Mainshaft
    G03602823Courtesy of NISSAN MOTOR CO., U.S.A.
  24. Remove snap ring from L-H shift rod assembly, using suitable tool.
  25. Fig 18: Removing Snap Ring
    G03602824Courtesy of NISSAN MOTOR CO., U.S.A.
  26. Remove 2-4 sleeve and 2-4 shift fork assembly from mainshaft.
  27. Remove drive chain together with sprocket and front drive shaft from front case.
  28. Fig 19: Removing Drive Chain With Sprocket & Front Drive Shaft From Front Case
    G03602825Courtesy of NISSAN MOTOR CO., U.S.A.
  29. Remove spacer and needle bearing from mainshaft.
  30. Remove mainshaft from sun gear assembly.
  31. Remove L-H shift rod assembly and control shift rod assembly from front case.
  32. Remove L-H sleeve together with L-H shift fork assembly from planetary carrier assembly.
  33. Remove snap ring from sun gear.
    CAUTION: Do not damage the sun gear or input bearing.
    Fig 20: Removing Snap Ring From Sun Gear
    G03602826Courtesy of NISSAN MOTOR CO., U.S.A.
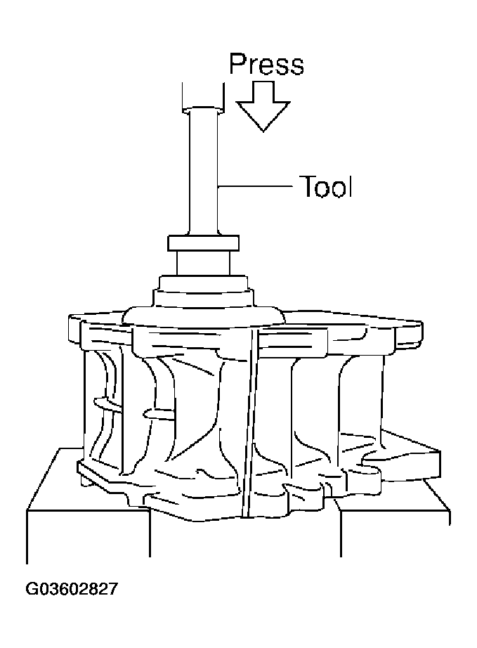
  34. Press the sun gear assembly and planetary carrier assembly from front case, using Tool.

    Tool number: KV38100200 (-) 

    Fig 21: Pressing Sun Gear Assembly And Planetary Carrier Assembly From Front Case
    G03602827Courtesy of NISSAN MOTOR CO., U.S.A.
  35. Remove snap ring from front case.
    Fig 22: Removing Snap Ring From Front Case
    G03602828Courtesy of NISSAN MOTOR CO., U.S.A.
  36. Remove internal gear from front case.
    Fig 23: Removing Internal Gear From Front Case
    G03602829Courtesy of NISSAN MOTOR CO., U.S.A.
  37. Remove snap ring from front case.
    Fig 24: Removing Snap Ring From Front Case
    G03602830Courtesy of NISSAN MOTOR CO., U.S.A.
  38. Remove the input bearing from front case, using Tool.

    Tool number: KV38100200 (-) 

    Fig 25: Removing Input Bearing From Front Case
    G03602831Courtesy of NISSAN MOTOR CO., U.S.A.
  39. Remove baffle plate from front case.
  40. Fig 26: Removing Baffle Plate From Front Case
    G03602832Courtesy of NISSAN MOTOR CO., U.S.A.
  41. Remove the breather tube from front case.