lemon-mirror:
Home >> Nissan-Datsun >> 2004 >> Sentra SE-R >> Repair and Diagnosis >> External Pages >> Different car >> Section 1670 (Engine Lubrication System) >> Lubrication System >> System Chart

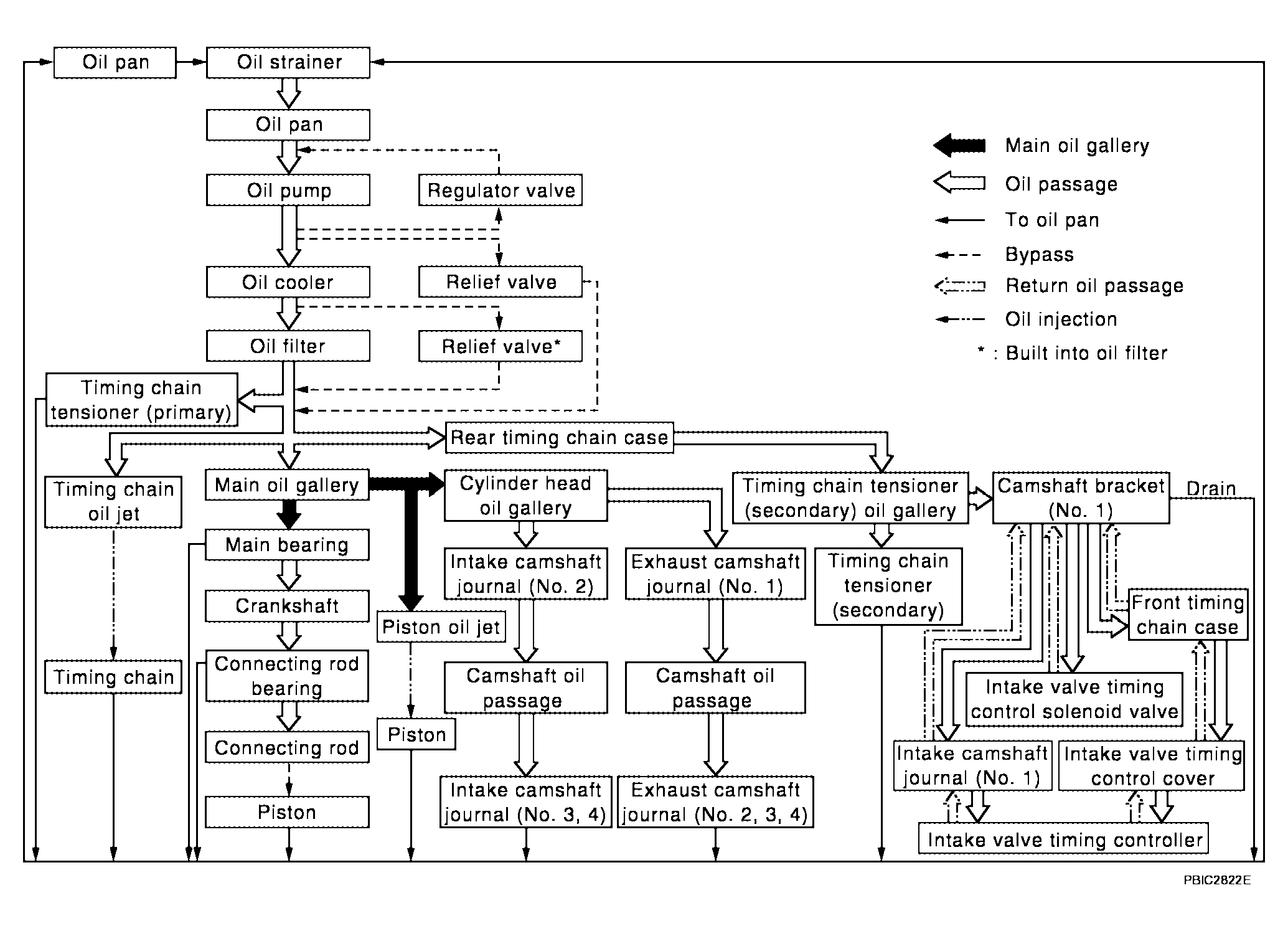
System Chart

WARNING: This page is about a different car, the 2006 Nissan Pathfinder. However, it is still accessible from the selected car via links, so may be relevant.
Fig 1: Lubrication System Chart
G04172936Courtesy of NISSAN MOTOR CO., U.S.A.