lemon-mirror:
Home >> Nissan-Datsun >> 2004 >> Sentra SE-R >> Repair and Diagnosis >> External Pages >> Different car >> Section 175 (Electrical Component Locator) >> Component Location Graphics

Component Location Graphics

WARNING: This page is about a different car, the 2003 Nissan Murano. However, it is still accessible from the selected car via links, so may be relevant.
NOTE: Figures may show multiple component locations. Refer to appropriate table for proper figure references.
Fig 1: Engine Compartment
G00150881Courtesy of NISSAN MOTOR CO., U.S.A.
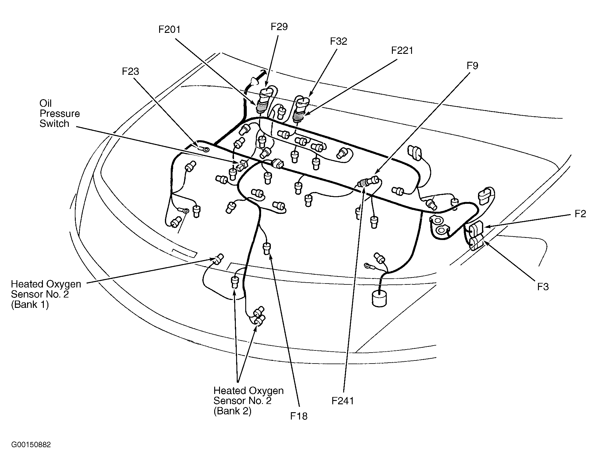
Fig 2: Engine Compartment
G00150882Courtesy of NISSAN MOTOR CO., U.S.A.
Fig 3: Engine Compartment
G00150883Courtesy of NISSAN MOTOR CO., U.S.A.
Fig 4: Dash
G00150884Courtesy of NISSAN MOTOR CO., U.S.A.
Fig 5: Dash
G00150885Courtesy of NISSAN MOTOR CO., U.S.A.
Fig 6: Passenger Compartment
G00150886Courtesy of NISSAN MOTOR CO., U.S.A.
Fig 7: HVAC Assembly
G00150887Courtesy of NISSAN MOTOR CO., U.S.A.