lemon-mirror:
Home >> Nissan-Datsun >> 2004 >> Sentra SE-R >> Repair and Diagnosis >> External Pages >> Different car >> Section 1926 (Axle) >> Front Axle Hub >> Installation

Front Axle Hub: Installation

WARNING: This page is about a different car, the 2006 Scion tC. However, it is still accessible from the selected car via links, so may be relevant.

HINT:

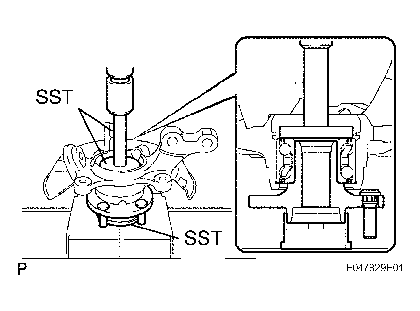
  1. INSTALL FRONT AXLE HUB BEARING 
    1. Using SST and a press, press a new axle hub bearing into the steering knuckle.

      SST 09950-60020 (09951-00720), 09950-70010 (09951-07100) 

  2. INSTALL FRONT DISC BRAKE DUST COVER 
    1. Install the front disc brake dust cover to the steering knuckle with the 3 bolts.

      Torque: 8.3 N.m (85 kgf.cm, 73 in.lbf) 

      Fig 1: Installing Front Disc Brake Dust Cover
      G04222903Courtesy of © TOYOTA, LICENSE AGREEMENT TMS1002
  3. INSTALL FRONT AXLE HUB SUB-ASSEMBLY 
    1. Using SST and a press, press in the axle hub subassembly.

      SST 09608-32010, 09950-60010 (09951-00600), 09950-70010 (09951-07100) 

      Fig 2: Pressing Axle Hub Subassembly
      G04222904Courtesy of © TOYOTA, LICENSE AGREEMENT TMS1002
  4. INSTALL FRONT AXLE HUB HOLE SNAP RING 
    1. Using snap ring pliers, install the hole snap ring.
  5. Fig 3: Removing/Installing Front Axle Hub Hole Snap Ring
    G04222905Courtesy of © TOYOTA, LICENSE AGREEMENT TMS1002
  6. INSTALL FRONT LOWER BALL JOINT ASSEMBLY 
    1. Install the lower ball joint and torque the nut.

      Torque: 103 N.m (1,050 kgf.cm, 76 ft.lbf) 

    2. Install a new cotter pin.
    NOTE: If the holes for the cotter pin are not aligned, tighten the nut an additional 60°.
  7. INSTALL FRONT AXLE ASSEMBLY 
    1. Install the drive shaft to the front axle.
    2. Install the steering knuckle with the 2 bolts and 2 nuts.

      Torque: 240 N.m (2,447 kgf.cm, 177 ft.lbf) 

    NOTE:
    • Only when reusing the bolts and nuts, apply the small amount of engine oil to the screw parts of the nuts.
    • Be careful not to damage the outboard joint boot and speed sensor rotor.
    Fig 4: Steering Knuckle, Shock Absorber, Nuts & Bolts
    G04222906Courtesy of © TOYOTA, LICENSE AGREEMENT TMS1002
  8. INSTALL FRONT NO. 1 SUSPENSION LOWER ARM SUB-ASSEMBLY 
    1. Install the lower ball joint to the No. 1 front suspension lower arm with the bolt and 2 nuts.

      Torque: 89 N.m (908 kgf.cm, 66 ft.lbf) 

  9. Fig 5: No. 1 Suspension Lower Arm Sub-Assembly Bolts
    G04222907Courtesy of © TOYOTA, LICENSE AGREEMENT TMS1002
  10. INSTALL TIE ROD END SUB-ASSEMBLY 
    1. Install the tie rod end to the steering knuckle with the nut.

      Torque: 49 N.m (500 kgf.cm, 36 ft.lbf) 

    NOTE: If the holes for the cotter pin are not aligned, tighten the nut an additional 60°.
  11. INSTALL FRONT STABILIZER LINK ASSEMBLY 
    1. Install the front stabilizer link assembly with the nut.

      Torque: 74 N.m (755 kgf.cm, 55 ft.lbf) 

      HINT:

      If the ball joint turns together with the nut, use a 6 mm hexagon wrench to hold the stud in place.

  12. Fig 6: Removing/Installing Front Stabilizer Link Assembly
    G04222908Courtesy of © TOYOTA, LICENSE AGREEMENT TMS1002
  13. INSTALL FRONT DISC 
  14. INSTALL FRONT DISC BRAKE CYLINDER ASSEMBLY 
    1. Install the front disc brake caliper assembly to the steering knuckle with the 2 bolts.

      Torque: 107 N.m (1,090 kgf.cm, 79 ft.lbf) 

      NOTE: There should be no oil or grease on the friction surface of the pad and disc.
  15. Fig 7: Front Disc Brake Cylinder Assembly & Bolts
    G04222909Courtesy of © TOYOTA, LICENSE AGREEMENT TMS1002
  16. INSTALL FRONT AXLE HUB NUT 
    1. Using a 30 mm socket wrench, install a new axle hub nut.

      Torque: 216 N.m (2,200 kgf.cm, 159 ft.lbf) 

  17. REMOVE FRONT DISC BRAKE CYLINDER ASSEMBLY 
    1. Remove the 2 bolts and separate the disc brake caliper assembly from the steering knuckle.
    NOTE:
    • Use a string or equivalent to keep the brake caliper from hanging down by the flexible hose.
    • There should be no oil or grease on the friction surface of the pad and disc.
  18. REMOVE FRONT DISC 
  19. INSPECT FRONT AXLE HUB BEARING BACKLASH. 
    1. Inspect the front axle hub bearing backlash. (see ON-VEHICLE INSPECTION  ).
  20. INSPECT FRONT AXLE HUB BEARING DEVIATION 
    1. Inspect the front axle hub bearing deviation. (see ON-VEHICLE INSPECTION  ).
  21. INSTALL FRONT DISC 
  22. INSTALL DISC BRAKE CYLINDER ASSEMBLY 
    1. Install the disc brake caliper assembly to the steering knuckle with the 2 bolts.

      Torque: 107 N.m (1,090 kgf.cm, 79 ft.lbf) 

  23. INSTALL FRONT SPEED SENSOR 
    1. Install the front speed sensor (See INSTALLATION ).
  24. STAKE FRONT AXLE HUB NUT 
    1. Using a chisel and hammer, stake the axle hub nut.
  25. Fig 8: Staking Front Axle Hub Nut
    G04222910Courtesy of © TOYOTA, LICENSE AGREEMENT TMS1002
  26. INSTALL FRONT WHEEL 

    Torque: 103 N.m (1,050 kgf.cm, 76 ft.lbf) 

  27. INSPECT AND ADJUST FRONT WHEEL ALIGNMENT 
    1. Inspect and adjust the front wheel alignment (See FRONT WHEEL ALIGNMENT ).
  28. CHECK ABS SPEED SENSOR SIGNAL 
    1. Check the ABS speed sensor signal (See PROBLEM SYMPTOMS TABLE ).