lemon-mirror:
Home >> Nissan-Datsun >> 2004 >> Sentra SE-R >> Repair and Diagnosis >> External Pages >> Different car >> Section 2182 (Power Window Control System) >> System Description >> Power Window System >> System Diagram >> Front Window Anti-Pinch System

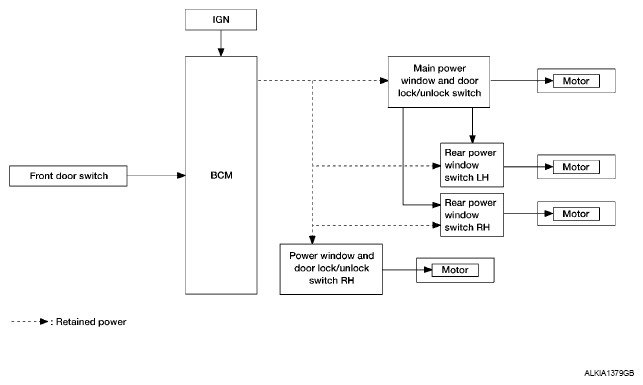
Front Window Anti-Pinch System

WARNING: This page is about a different car, the 2011 Nissan Xterra. However, it is still accessible from the selected car via links, so may be relevant.
Fig 1: Front Window Anti-Pinch System Diagram
G07152967