lemon-mirror:
Home >> Nissan-Datsun >> 2004 >> Sentra SE-R >> Repair and Diagnosis >> External Pages >> Different car >> Section 735 (Rear Window Defogger) >> Rear Window Defogger >> Filament Check

Filament Check

WARNING: This page is about a different car, the 2004 Infiniti M45. However, it is still accessible from the selected car via links, so may be relevant.
  1. When measuring voltage, wrap tin foil around the top of the negative probe. Then press the foil against the wire with your finder.
    Fig 1: Precautions For Measuring Voltage
    G02340242Courtesy of NISSAN MOTOR CO., U.S.A.
  2. Attach probe circuit tester (in Volt range) to middle portion of each filament.
    Fig 2: Attaching Probe Circuit Tester To Filament
    G02340243Courtesy of NISSAN MOTOR CO., U.S.A.
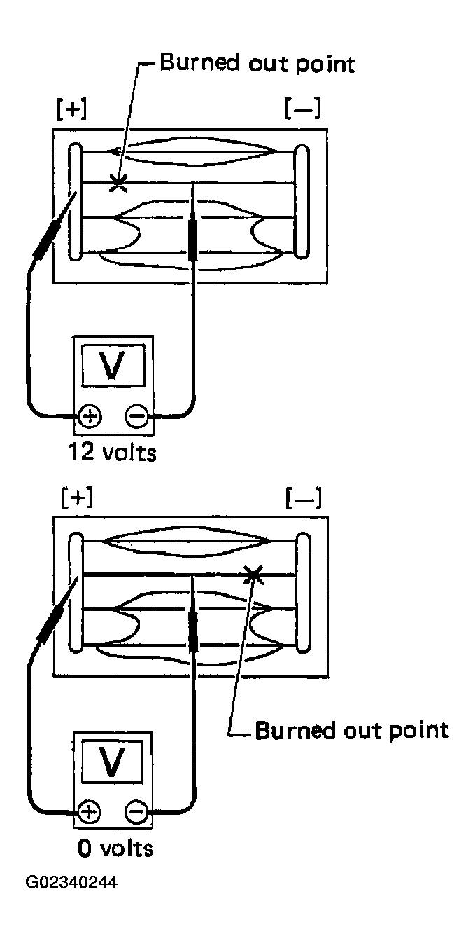
  3. If a filament is burned out, circuit tester registers 0 or battery voltage.
  4. To locate burned out point, move probe to left and right along filament. Test needle will swing abruptly when probe passes the point.
    Fig 3: Checking Filament Condition
    G02340244Courtesy of NISSAN MOTOR CO., U.S.A.