lemon-mirror:
Home >> Nissan-Datsun >> 2004 >> Sentra SE-R >> Repair and Diagnosis >> External Pages >> Different car >> Section 847 (Transfer) >> AWD System >> System Diagram

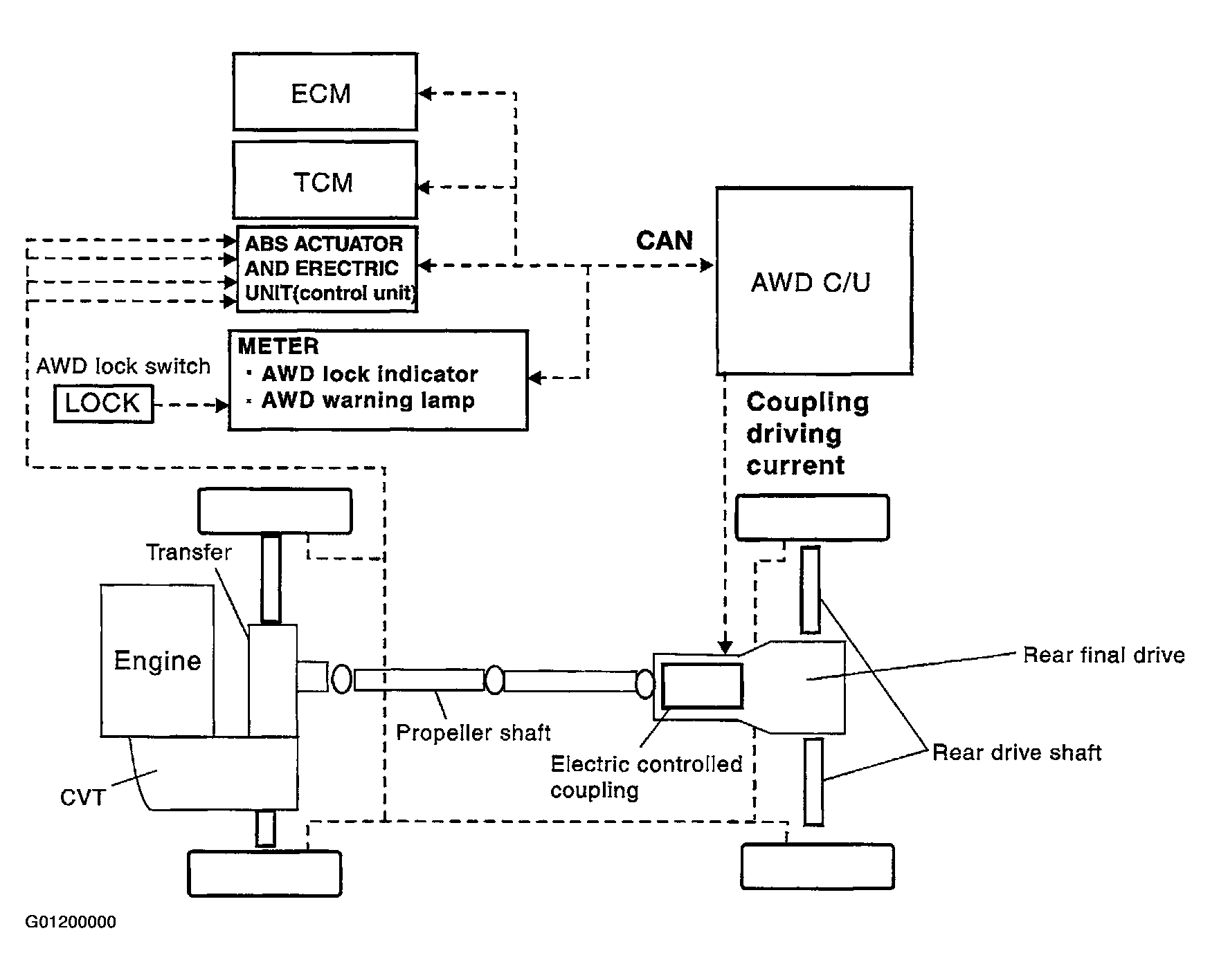
System Diagram

WARNING: This page is about a different car, the 2003 Nissan Murano. However, it is still accessible from the selected car via links, so may be relevant.
Fig 1: System Diagram
G01200000Courtesy of NISSAN MOTOR CO., U.S.A.