lemon-mirror:
Home >> Nissan-Datsun >> 2004 >> Sentra SE-R >> Repair and Diagnosis >> Transmission >> Automatic Trans >> Automatic Transaxle - Re4F04B >> Repair For Component Parts >> Manual Shaft >> Components

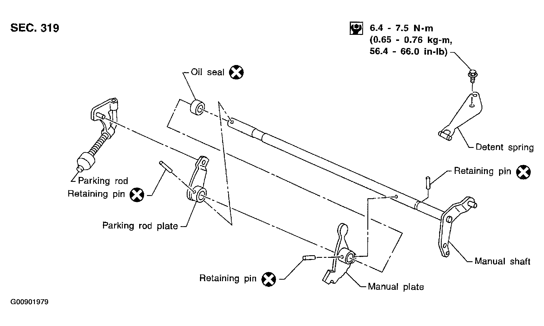
Manual Shaft: Components

Fig 1: Identifying Manual Shaft Components And Tightening Torques
G00901979Courtesy of NISSAN MOTOR CO., U.S.A.