lemon-mirror:
Home >> Nissan-Datsun >> 2005 >> Maxima SL >> Repair and Diagnosis >> Brakes >> Traction Control >> Brake Control System >> VDC/TCS/Abs >> System Description >> System Components

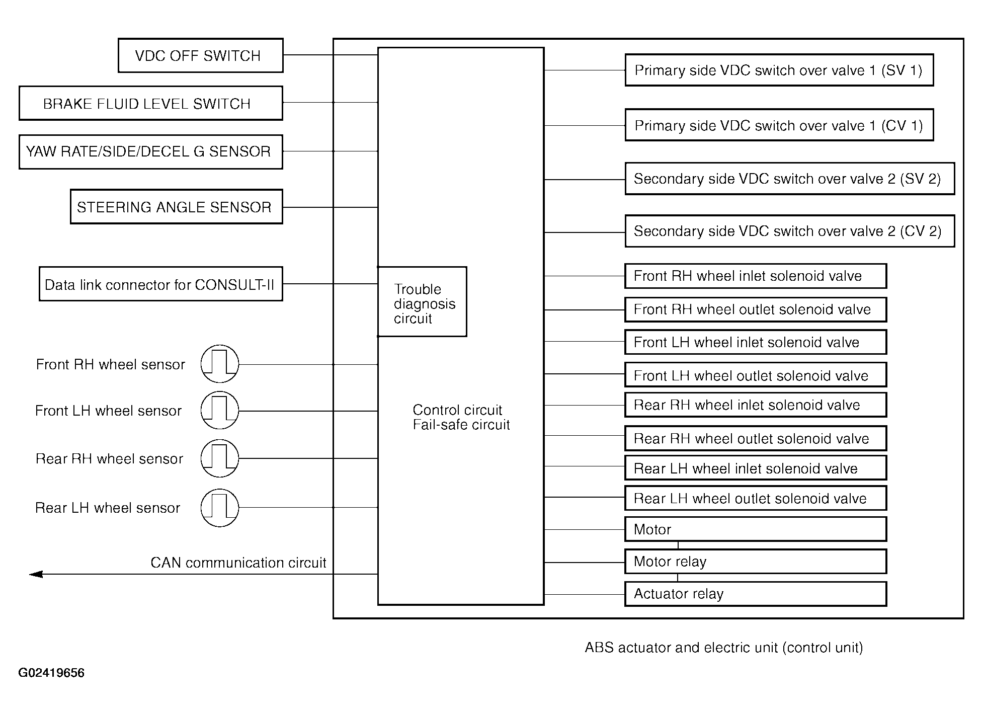
System Components

Fig 1: System Components Diagram
G02419656Courtesy of NISSAN MOTOR CO., U.S.A.