lemon-mirror:
Home >> Nissan-Datsun >> 2005 >> Sentra SE-R >> Repair and Diagnosis >> Body & Frame >> Windows >> Glass, Window System & Mirrors >> Rear Window Defogger >> Filament Check

Filament Check

  1. Attach probe circuit tester (in volt range) to middle portion of each filament.
    Fig 1: Attaching Circuit Tester To Middle Portion Of Each Filament
    G02452112Courtesy of NISSAN MOTOR CO., U.S.A.
    • When measuring voltage, wrap tin foil around the top of the negative probe. Then press the foil against the wire with your finger. 
    Fig 2: Using Tin Foil To Attach Tester Probe To Filament
    G02452113Courtesy of NISSAN MOTOR CO., U.S.A.
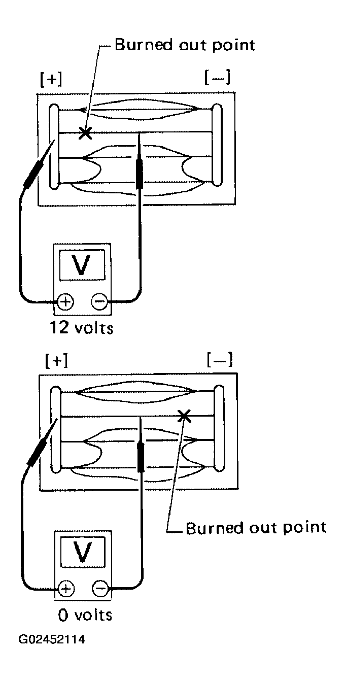
  2. If a filament is burned out, circuit tester registers 0 or 12 volts.
    Fig 3: Identifying Burned Out Point Using Voltmeter
    G02452114Courtesy of NISSAN MOTOR CO., U.S.A.
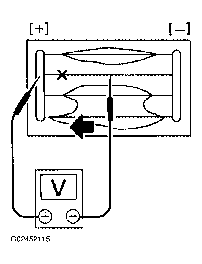
  3. To locate burned out point, move probe to left and right along filament. Test needle will swing abruptly when probe passes the point.
    Fig 4: Using Voltmeter To Locate Burned Out Point Of Filament
    G02452115Courtesy of NISSAN MOTOR CO., U.S.A.