Steering Wheel And Steering Column: Inspection: Notes
- When steering wheel does not turn smoothly, check the steering column as follows and replace damaged parts.
- Check column bearings for damage or unevenness. Lubricate with recommended multi-purpose grease or replace steering column as an assembly, if necessary.
- Check jacket tube for deformation or breakage. Replace if necessary.
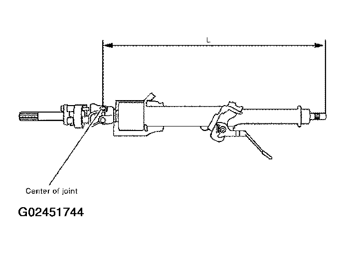
- When the vehicle comes into a light collision, check length "L".
- Steering column length "L": 542 - 544 mm
- (21.34 - 21.42 in)
- Steering column length "L": 542 - 544 mm
If out of specification, replace steering column as an assembly.