lemon-mirror:
Home >> Nissan-Datsun >> 2006 >> Sentra Base, Automatic >> Repair and Diagnosis >> Engine Performance >> System >> Engine Control System - Component Testing (QG18DE) >> ASCD Indicator >> Wiring Diagram

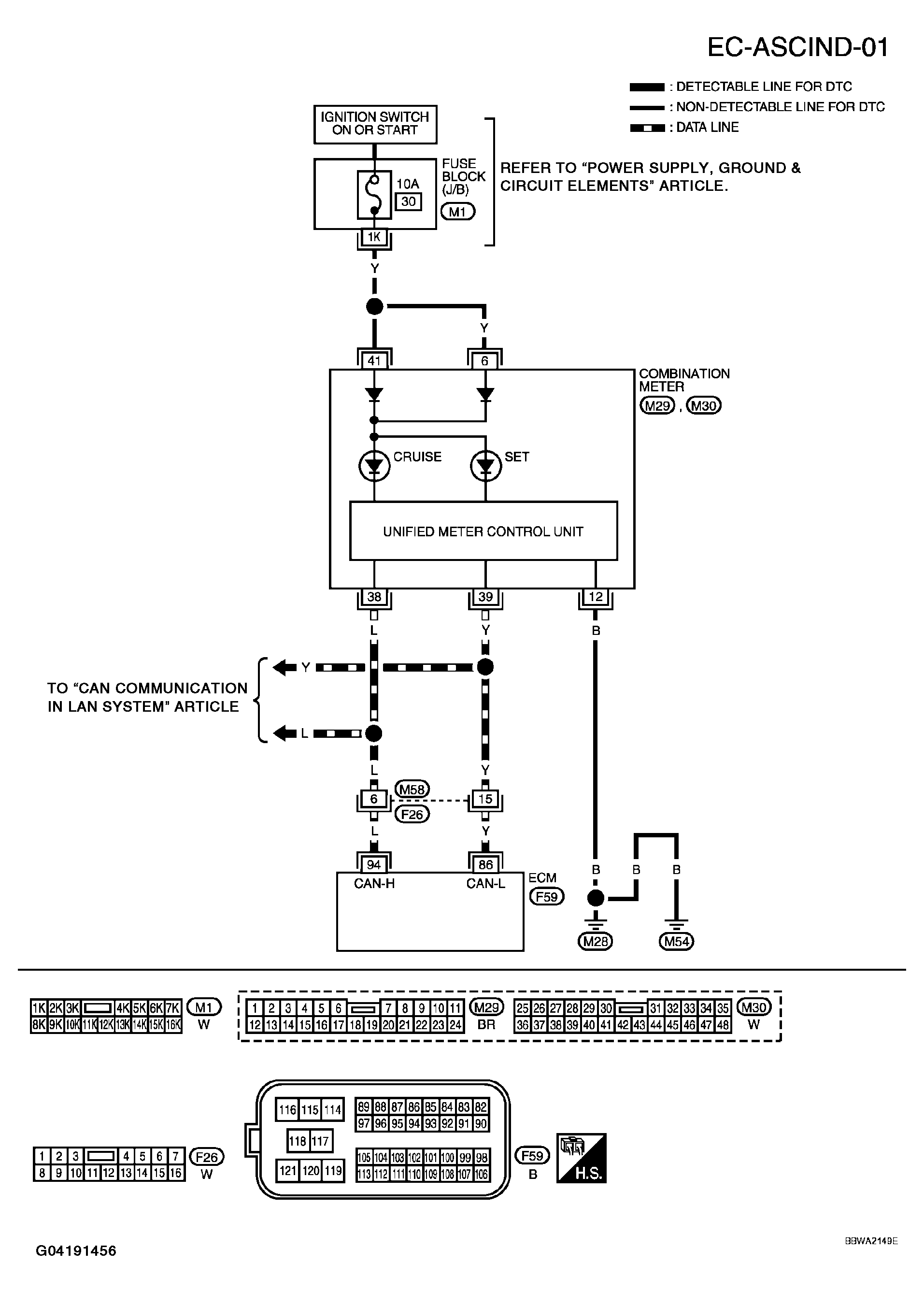
ASCD Indicator: Wiring Diagram

Fig 1: Identifying Wiring Diagram (EC-ASCIND-01)
G04191456Courtesy of NISSAN MOTOR CO., U.S.A.