lemon-mirror:
Home >> Nissan-Datsun >> 2006 >> Sentra SE-R >> Repair and Diagnosis >> Body & Frame >> Windows >> Glass, Window System & Mirrors >> Rear Window Defogger >> Filament Check

Filament Check

  1. Attach probe circuit tester (in volt range) to middle portion of each filament.
    Fig 1: Attaching Probe Circuit Tester (In Volt Range) To Middle Portion Of Each Filament
    G04195094Courtesy of NISSAN MOTOR CO., U.S.A.
    • When measuring voltage, wrap tin foil around the top of the negative probe. Then press the foil against the wire with your finger  .
    Fig 2: Pressing Test Probe To Filament Grid
    G04077455Courtesy of NISSAN MOTOR CO., U.S.A.
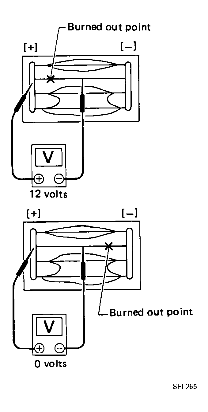
  2. If a filament is burned out, circuit tester registers 0 or 12 volts.
    Fig 3: Identifying Burned Out Points
    G04195096Courtesy of NISSAN MOTOR CO., U.S.A.
  3. To locate burned out point, move probe to left and right along filament. Test needle will swing abruptly when probe passes the point.
    Fig 4: Checking Voltage In Wires
    G04195097Courtesy of NISSAN MOTOR CO., U.S.A.