lemon-mirror:
Home >> Nissan-Datsun >> 2010 >> Cube Base >> Repair and Diagnosis >> Engine Performance >> System >> Engine Control System - Component Testing >> Periodic Maintenance >> Fuel Pressure >> Inspection >> Fuel Pressure Check

Fuel Pressure Check

CAUTION: Before disconnecting fuel line, release fuel pressure from fuel line to eliminate danger.
NOTE:
  • Prepare pans or saucers under the disconnected fuel line because the fuel may spill out. The fuel pressure cannot be completely released because C11 models do not have fuel return system.
  • The fuel hose connection method used when taking fuel pressure check must not be used for other purposes.
  • Be careful not to scratch or put debris around connection area when servicing, so that the quick connector maintains seal ability with O-rings inside.
  • Do not perform fuel pressure check with electrical systems operating (i.e. lights, rear defogger, A/C, etc.) Fuel pressure gauge may indicate false readings due to varying engine load and changes in manifold vacuum.
  1. Release fuel pressure to zero. Refer to "FUEL PRESSURE RELEASE ".
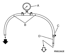
  2. Prepare fuel hose for fuel pressure check B and fuel tube adapter (KV10118400) D, then connect fuel pressure gauge A.
    • <=: To quick connector
    • ←: To fuel tube (engine side)
    • C: Clamp
    • Use suitable fuel hose for fuel pressure check (genuine NISSAN fuel hose without quick connector).
    • To avoid unnecessary force or tension to hose, use moderately long fuel hose for fuel pressure check.
    • Do not use the fuel hose for checking fuel pressure with damage or cracks on it.
    • Use Pressure Gauge to check fuel pressure.
    Fig 1: Connecting Fuel Pressure Gauge
    G04925144Courtesy of NISSAN MOTOR CO., U.S.A.
  3. Remove fuel hose. Refer to "REMOVAL AND INSTALLATION ".
    • Do not twist or kink fuel hose because it is plastic hose.
  4. Connect fuel hose for fuel pressure check (1) to fuel tube (engine side) with clamp (2) as shown in the figure.
    • No. 2 spool (5)
    • Wipe off oil or dirt from hose insertion part using cloth moistened with gasoline.
    • Apply proper amount of gasoline between top of the fuel tube (3) and No. 1 spool (4).
    • Insert fuel hose for fuel pressure check until it touches the No. 1 spool on fuel tube.
    • Use NISSAN genuine hose clamp (part number: 16439 N4710 or 16439 40U00).
    • When reconnecting fuel line, always use new clamps.
    • Use a torque driver to tighten clamps.
    • Install hose clamp to the position within 1 - 2 mm (0.04 - 0.08 in).
    • Fig 2: Identifying Fuel Hose For Fuel Pressure Check To Fuel Tube (Engine Side) With Clamp
      G04925145Courtesy of NISSAN MOTOR CO., U.S.A.

    Tightening torque: 1 - 1.5 N.m (0.1 - 0.15 kg-m, 9 - 13 in-lb) 

    • Make sure that clamp screw does not contact adjacent parts.
  5. Connect fuel tube adapter to quick connector.
    • A: Fuel pressure gauge
    • B: Fuel hose for fuel pressure check
    • Fig 3: Identifying Fuel Pressure Gauge And Fuel Hose For Fuel Pressure Check
      G05921332Courtesy of NISSAN MOTOR CO., U.S.A.
  6. After connecting fuel hose for fuel pressure check, pull the hose with a force of approximately 98 N (10 kg, 22 lb) to confirm fuel tube does not come off.
  7. Turn ignition switch ON and check for fuel leakage.
  8. Start engine and check for fuel leakage.
  9. Read the indication of fuel pressure gauge.
    • Do not perform fuel pressure check with system operating.

      Fuel pressure gauge may indicate false readings.

    • During fuel pressure check, confirm for fuel leakage from fuel connection every 3 minutes.

    At idling: Approximately 350 kPa (3.57 kg/cm 2  , 51 psi) 

  10. If result is unsatisfactory, go to next step.
  11. Check the following.
    • Fuel hoses and fuel tubes for clogging
    • Fuel filter for clogging
    • Fuel pump
    • Fuel pressure regulator for clogging

    If OK, replace fuel pressure regulator.

    If NG, repair or replace.

  12. Before disconnecting Fuel Pressure Gauge and Fuel Pressure Adapter J-44321-6, release fuel pressure to zero. Refer to "FUEL PRESSURE RELEASE ".