lemon-mirror:
Home >> Nissan-Datsun >> 2011 >> Cube Base >> Repair and Diagnosis >> Body & Frame >> Windows >> Power Window Control System >> System Description >> Power Window System >> System Diagram

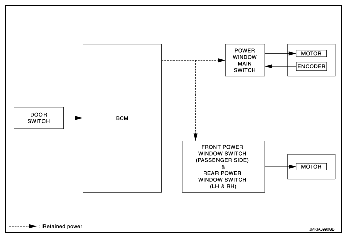
System Diagram

Fig 1: Power Window System Diagram
G07105729Courtesy of NISSAN MOTOR CO., U.S.A.