lemon-mirror:
Home >> Nissan-Datsun >> 2011 >> Cube Base >> Repair and Diagnosis >> Brakes >> Traction Control >> Brake Control System >> System Description >> Abs >> System Diagram

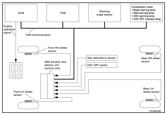
System Diagram

Fig 1: ABS Diagram
G07107535Courtesy of NISSAN MOTOR CO., U.S.A.