lemon-mirror:
Home >> Nissan-Datsun >> 2012 >> NV3500 HD SL >> Repair and Diagnosis >> Body & Frame >> Windows >> Power Window Control System >> System Description >> System >> System Diagram >> Front Window System

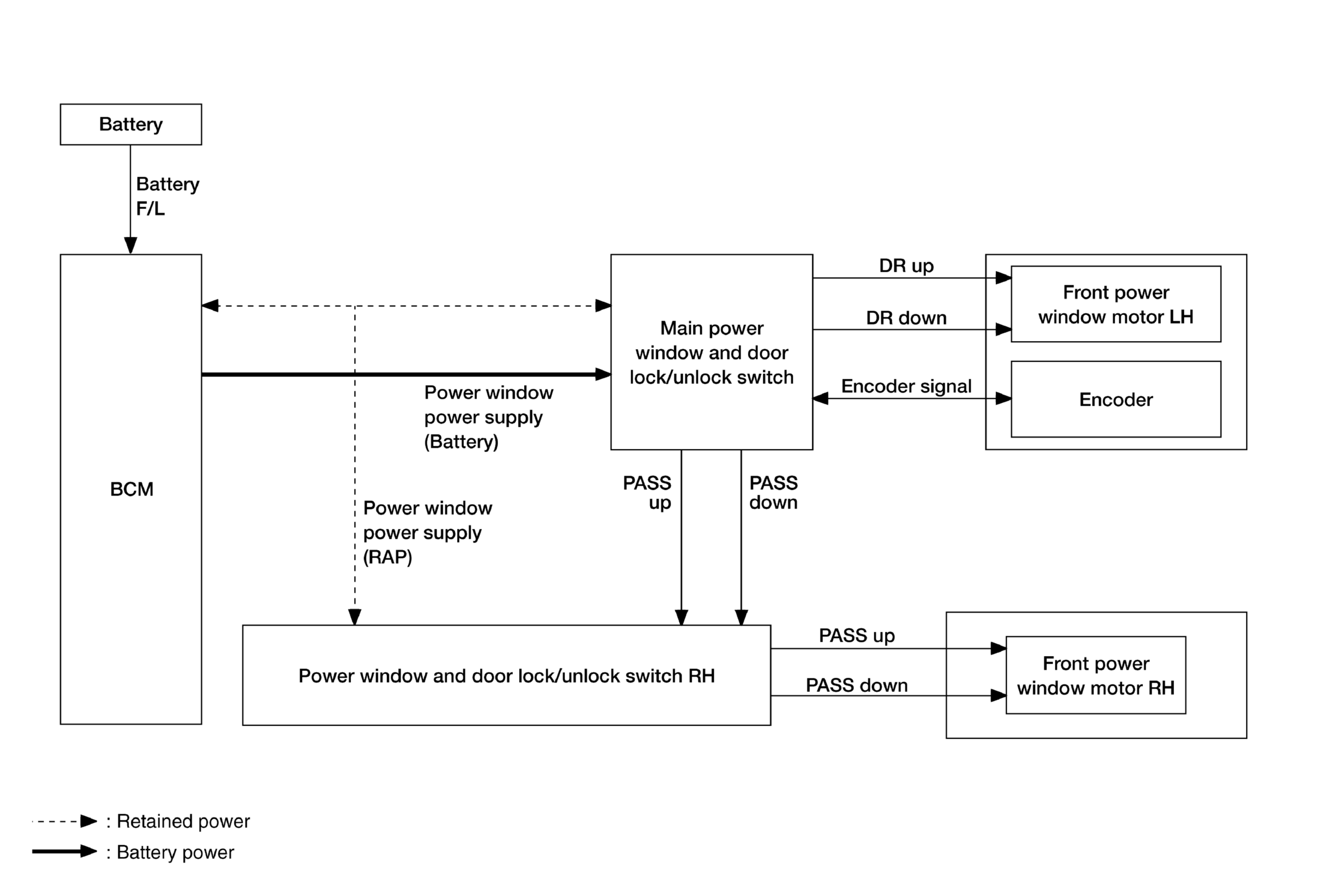
Front Window System

Fig 1: Front Window - System Diagram
G08160484Courtesy of NISSAN NORTH AMERICA, INC.