lemon-mirror:
Home >> Nissan-Datsun >> 2012 >> Quest LE >> Repair and Diagnosis >> Electrical >> Body Electrical >> Power Control System >> IPDM E/R >> System Description >> System >> Relay Control System System Diagram >> Notes

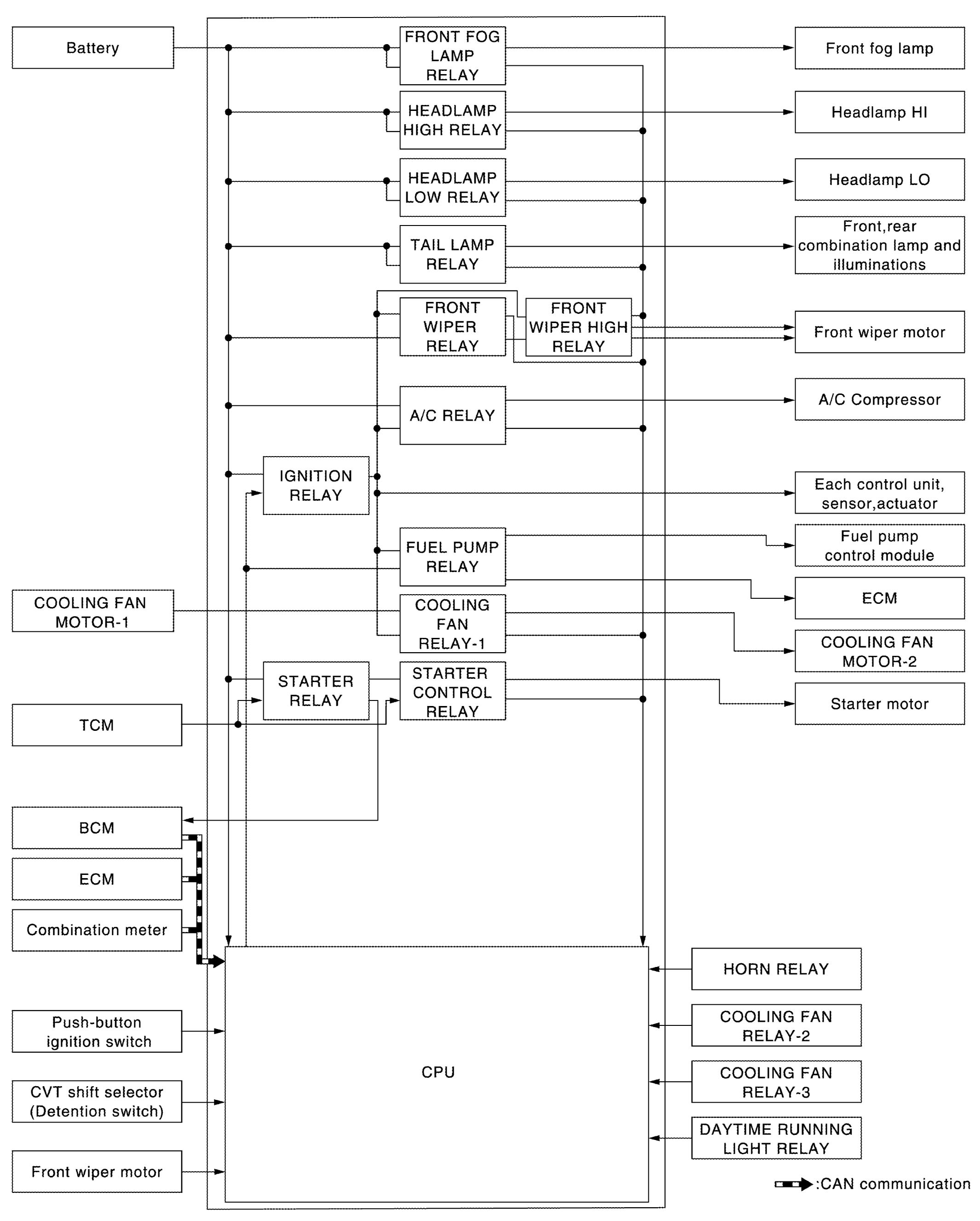
Relay Control System System Diagram: Notes

Fig 1: Identifying Relay Control System Diagram
G07053851Courtesy of NISSAN NORTH AMERICA, INC.