lemon-mirror:
Home >> Nissan-Datsun >> 2012 >> Sentra SE-R >> Repair and Diagnosis >> Body & Frame >> Windows >> Glass, Window System & Mirrors >> Service Information >> Rear Window Defogger >> Filament Check

Filament Check

  1. When measuring voltage, wrap tin foil around the top of the negative probe. Then press the foil against the wire with your finger.
    Fig 1: Pressing Tin Foil Against Heat Wire
    G04877448Courtesy of NISSAN NORTH AMERICA, INC.
  2. Attach probe circuit tester (in Volt range) to middle portion of each filament.
    Fig 2: Checking Filament Circuit
    G04877449Courtesy of NISSAN NORTH AMERICA, INC.
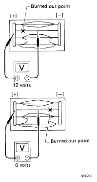
  3. If a filament is burned out, circuit tester registers 0 or battery voltage.
  4. To locate burned out point, move probe to left and right along filament. Test needle will swing abruptly when probe passes the point.
    Fig 3: Identifying Burned Out Point
    G04877450Courtesy of NISSAN NORTH AMERICA, INC.