lemon-mirror:
Home >> Nissan-Datsun >> 2012 >> Sentra SE-R >> Repair and Diagnosis >> Engine Performance >> System >> Engine Control System - DTCS P0171 To P0507 (Qr25DE) >> DTC P0441: EVAP Control System >> Overall Function Check

Overall Function Check

Use this procedure to check the overall monitoring function of the EVAP control system purge flow monitoring. During this check, a 1st trip DTC might not be confirmed.

WITH GST

  1. Lift up drive wheels.
  2. Start engine and warm it up to normal operating temperature.
  3. Turn ignition switch OFF and wait at least 10 seconds.
  4. Start engine and wait at least 70 seconds.
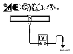
  5. Set voltmeter probes to ECM terminals 42 (EVAP control system pressure sensor signal) and ground.
  6. Check EVAP control system pressure sensor value at idle speed and note it.
  7. Establish and maintain the following conditions for at least 1 minute.
    Air conditioner switch ON
    Headlamp switch ON
    Rear window defogger switch ON
    Engine speed Approx. 3, 000 rpm
    Selector lever Any position other than P, N or R
    Fig 1: Checking Voltage Between ECM Terminals 42 And Ground
    G04925410Courtesy of NISSAN NORTH AMERICA, INC.
  8. Verify that EVAP control system pressure sensor value stays 0.1 V less than the value at idle speed (measured at step 6) for at least 1 second.
  9. If NG, go to "DIAGNOSIS PROCEDURE ".