lemon-mirror:
Home >> Nissan-Datsun >> 2013 >> Leaf SL >> Repair and Diagnosis >> Brakes >> Traction Control >> Brake Control System >> System Description >> System >> TCS Function >> TCS FUNCTION: System Description >> System Diagram

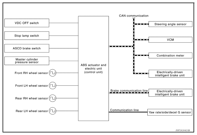
System Diagram

Fig 1: TCS Function System Diagram
G08703965Courtesy of NISSAN NORTH AMERICA, INC.