lemon-mirror:
Home >> Nissan-Datsun >> 2014 >> Cube SL >> Repair and Diagnosis >> Body & Frame >> Windows >> Power Window Control >> System Description >> Power Window System >> System Diagram

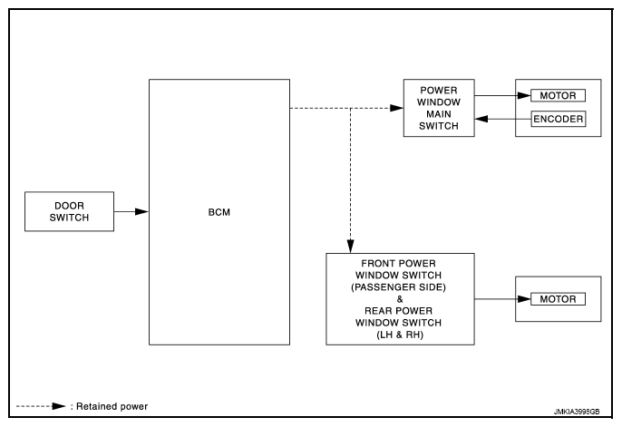
System Diagram

Fig 1: Power Window - System Diagram
G09520190Courtesy of NISSAN NORTH AMERICA, INC.