lemon-mirror:
Home >> Nissan-Datsun >> 2014 >> Maxima S >> Repair and Diagnosis >> Body & Frame >> Windows >> Power Window Control System >> System Description >> Power Window System >> System Diagram

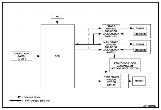
System Diagram

Fig 1: Power Window System Diagram
G08924376Courtesy of NISSAN NORTH AMERICA, INC.