lemon-mirror:
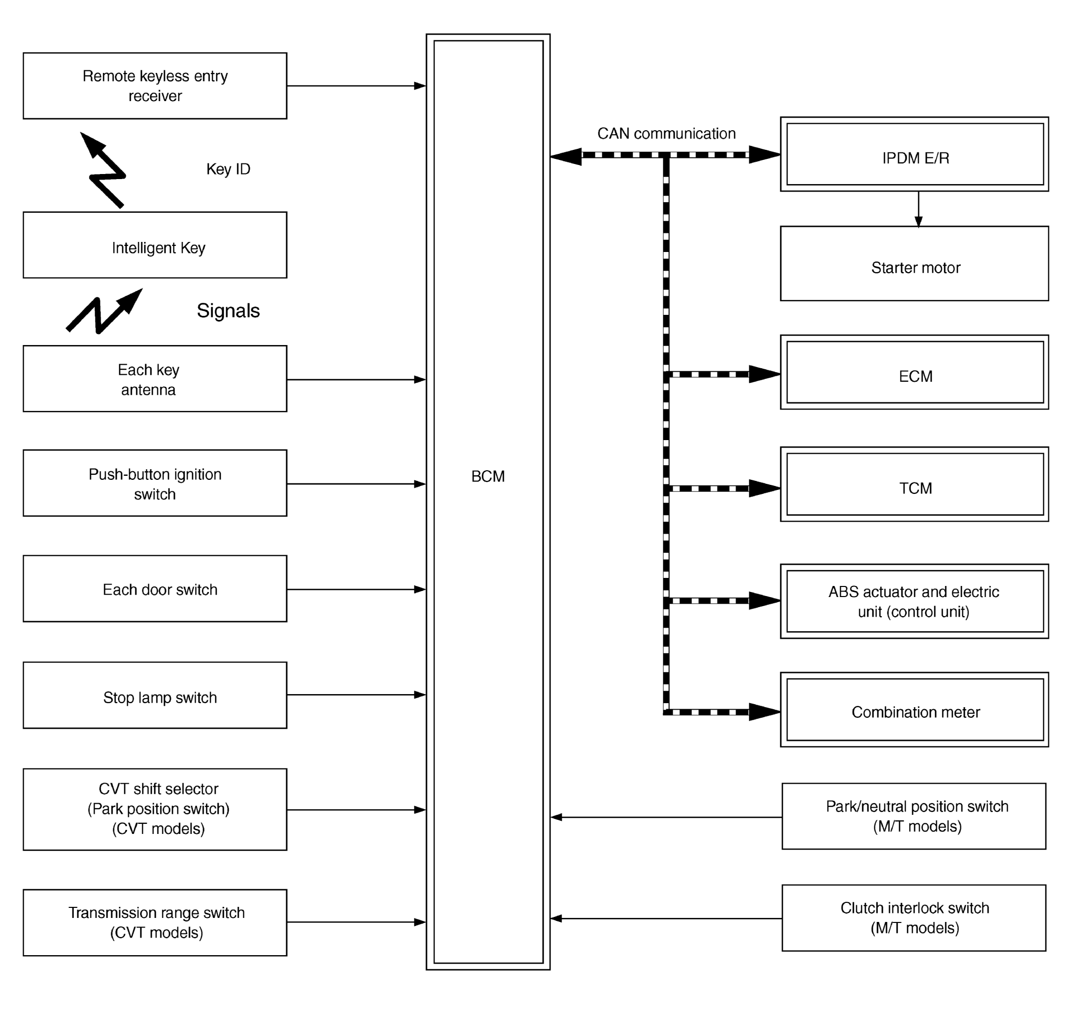
Home >> Nissan-Datsun >> 2014 >> Sentra SL >> Repair and Diagnosis >> Body & Frame >> Door Locks >> Security Control System (With Intelligent Key) >> System Description >> System >> Intelligent Key System/Engine Start Function >> INTELLIGENT KEY SYSTEM/ENGINE START FUNCTION: System Description >> System Diagram

System Diagram

Fig 1: Intelligent Key System/Engine Start Function - System Diagram
G09460154Courtesy of NISSAN NORTH AMERICA, INC.