lemon-mirror:
Home >> Nissan-Datsun >> 2014 >> Sentra SL >> Repair and Diagnosis >> Body & Frame >> Windows >> Power Window Control System >> System Description >> System >> System Diagram >> Front Power Window LH Anti-Pinch System

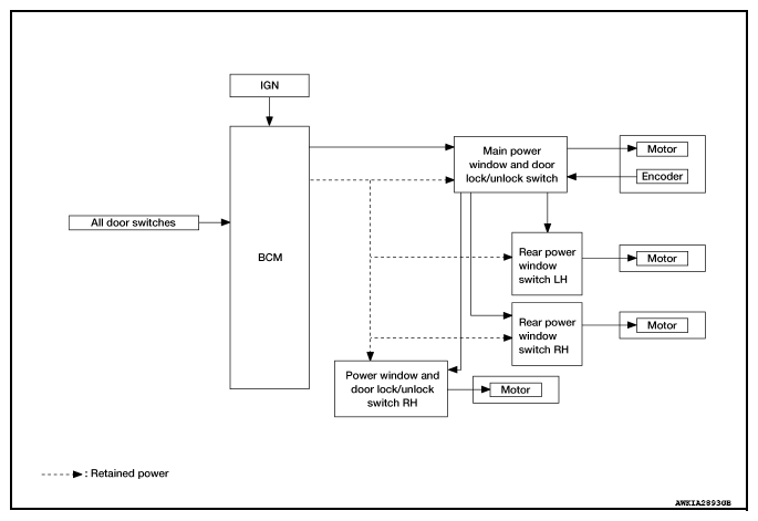
Front Power Window LH Anti-Pinch System

Fig 1: Front Power Window LH Anti-Pinch - System Diagram
G09460255Courtesy of NISSAN NORTH AMERICA, INC.