lemon-mirror:
Home >> Nissan-Datsun >> 2014 >> Versa Note SV >> Repair and Diagnosis >> Body & Frame >> Windows >> Power Window Control System >> System Description >> System >> System Description >> System Diagram

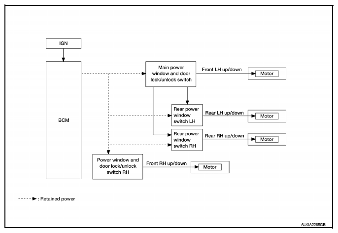
System Diagram

Fig 1: BCM - System Diagram
G08204176Courtesy of NISSAN NORTH AMERICA, INC.