lemon-mirror:
Home >> Nissan-Datsun >> 2014 >> Versa SL >> Repair and Diagnosis >> Body & Frame >> Windows >> Power Window Control System >> System Description >> System >> System Diagram

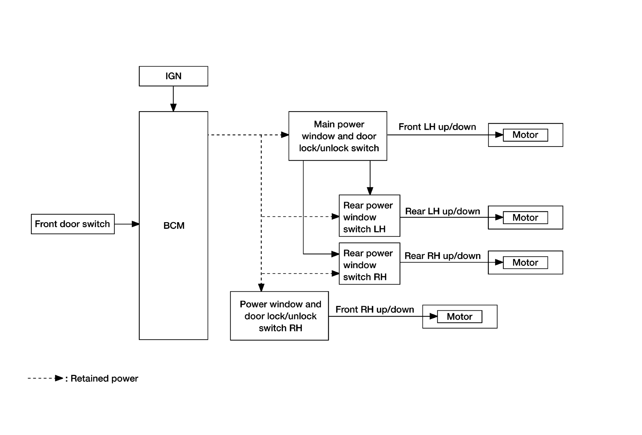
System Diagram

Fig 1: Power Window Control System Diagram
G09616187Courtesy of NISSAN NORTH AMERICA, INC.