lemon-mirror:
Home >> Nissan-Datsun >> 2015 >> Altima Base >> Repair and Diagnosis >> Electrical >> Body Electrical >> Power Control System >> IPDM E/R >> System Description >> System >> Relay Control System >> System Diagram

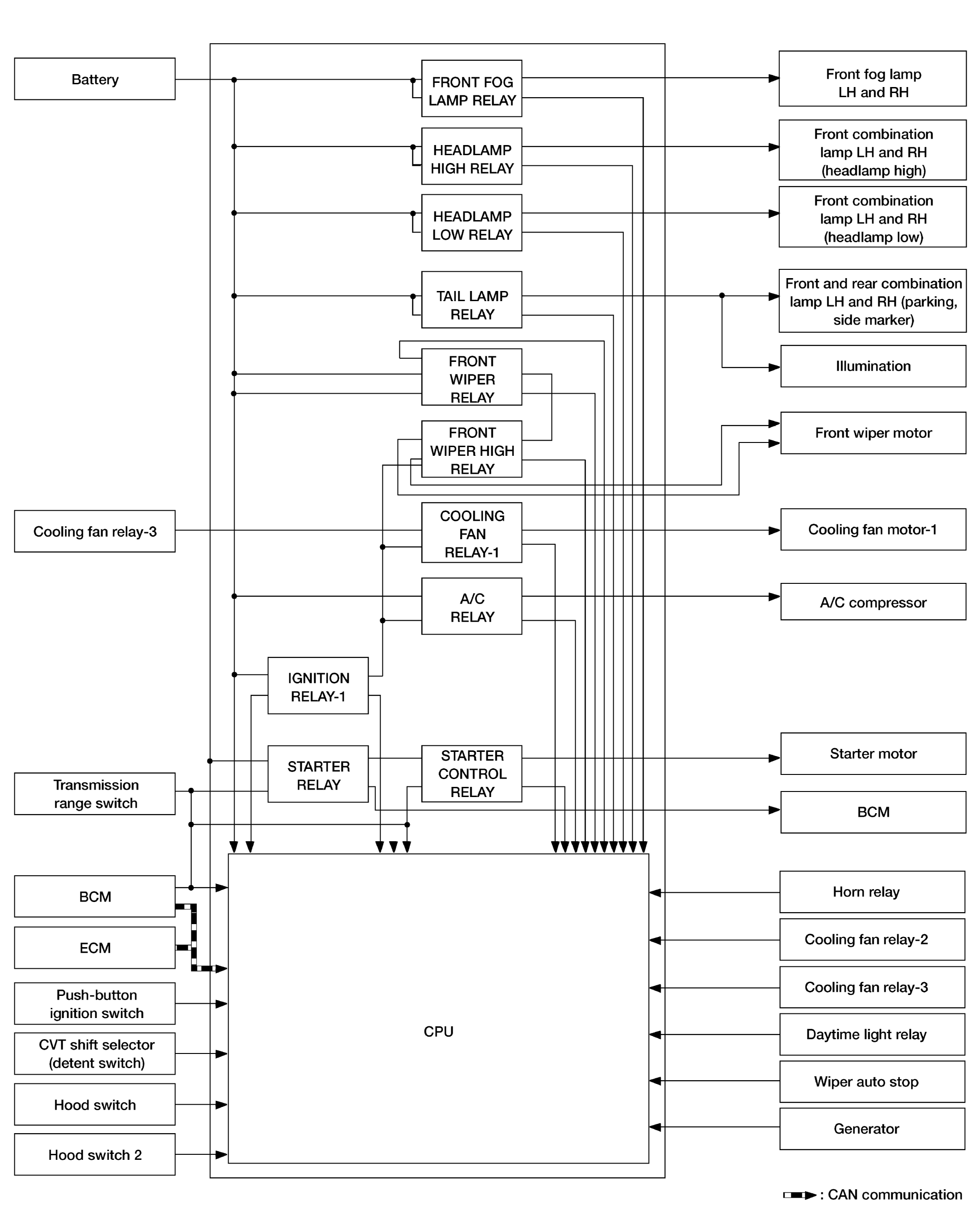
System Diagram

Fig 1: IPDM E/R Relay Control System Diagram
GNSAWMIA1592GB-592Courtesy of NISSAN NORTH AMERICA, INC.