lemon-mirror:
Home >> Nissan-Datsun >> 2015 >> Versa SL >> Repair and Diagnosis >> Restraints >> Restraints Control Systems >> SRS Airbag Control System >> System Description >> System >> Occupant Classification System >> System Diagram

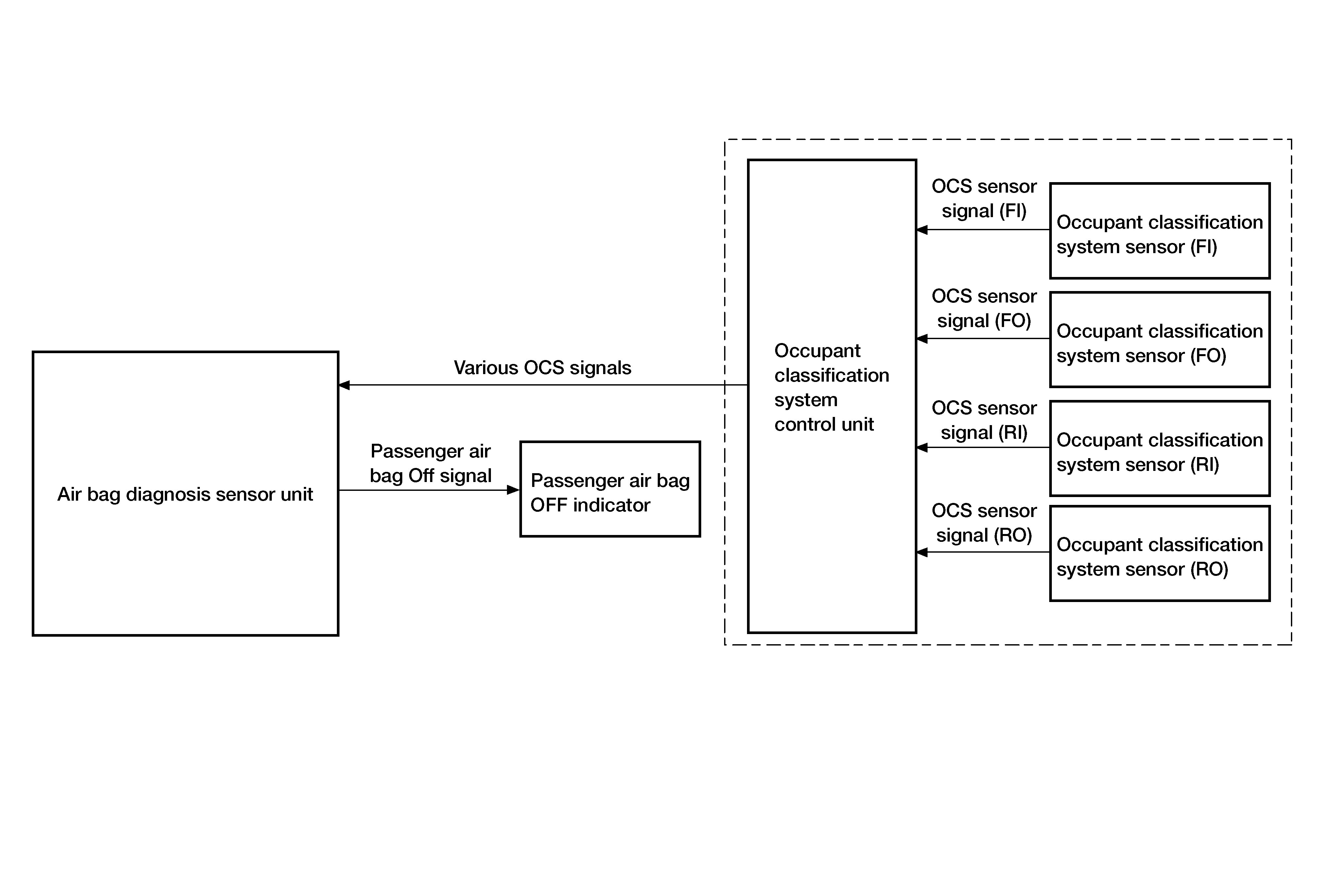
System Diagram

Fig 1: Occupant Classification System Diagram
GNSAWHIA0656GB-656Courtesy of NISSAN NORTH AMERICA, INC.