lemon-mirror:
Home >> Nissan-Datsun >> 2016 >> Altima Base >> Repair and Diagnosis >> Engine Mechanical >> Fuel System >> Removal And Installation >> EVAP Control System Pressure Sensor >> Exploded View With Torque Specifications

Exploded View With Torque Specifications

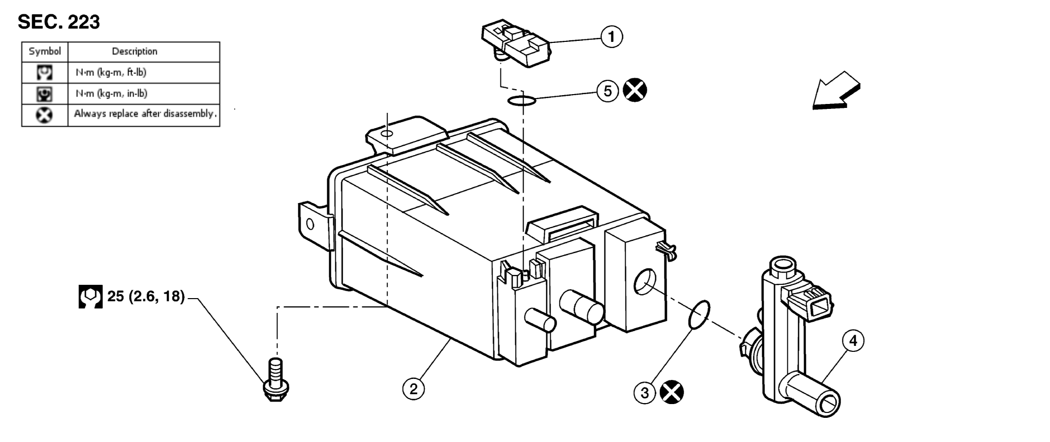
Fig 1: Exploded View Of EVAP Control System Pressure Sensor With Torque Specifications
GNSAWBIA1320GB-320Courtesy of NISSAN NORTH AMERICA, INC.
1. EVAP control system pressure sensor 2. EVAP canister 3. O-ring
4. EVAP canister vent control valve 5. O-ring ARROW Front