lemon-mirror:
Home >> Nissan-Datsun >> 2016 >> Altima Base >> Repair and Diagnosis >> Engine Performance >> Fuel Delivery >> Fuel System >> Unit Disassembly And Assembly >> Fuel Level Sensor Unit >> Disassembly And Assembly >> Disassembly

Disassembly And Assembly: Disassembly

NOTE:

Before disassembly, note the proper placement of the wires to the correct terminals and correct wire routing to the terminals.

  1. Disconnect the red, white (A) and double black connector (B).
    • Press the tabs on the terminals to release the locking tabs.
      Fig 1: Red, White (A) And Double Black Connector (B)
      GNSALBIA0927ZZ-927Courtesy of NISSAN NORTH AMERICA, INC.
    (C): Fuel pump harness connector
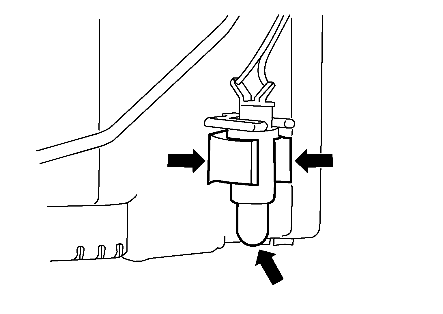
  2. Release the two clips and remove the fuel temperature sensor from the pump assembly.
    Fig 2: Removing Fuel Temperature Sensor From Pump Assembly
    G06555487Courtesy of NISSAN NORTH AMERICA, INC.
  3. Release the tab (A) and slide the level sensor unit module and float arm assembly up (B) to remove.
    Fig 3: Removing Fuel Level Sensor Unit And Float Arm Assembly
    G08199691Courtesy of NISSAN NORTH AMERICA, INC.