lemon-mirror:
Home >> Nissan-Datsun >> 2016 >> Altima Base >> Repair and Diagnosis >> Engine Performance >> Fuel Delivery >> Fuel System >> Unit Disassembly And Assembly >> Fuel Level Sensor Unit >> Disassembly And Assembly >> Notes

Disassembly And Assembly: Notes

Fuel Level Sensor Unit 

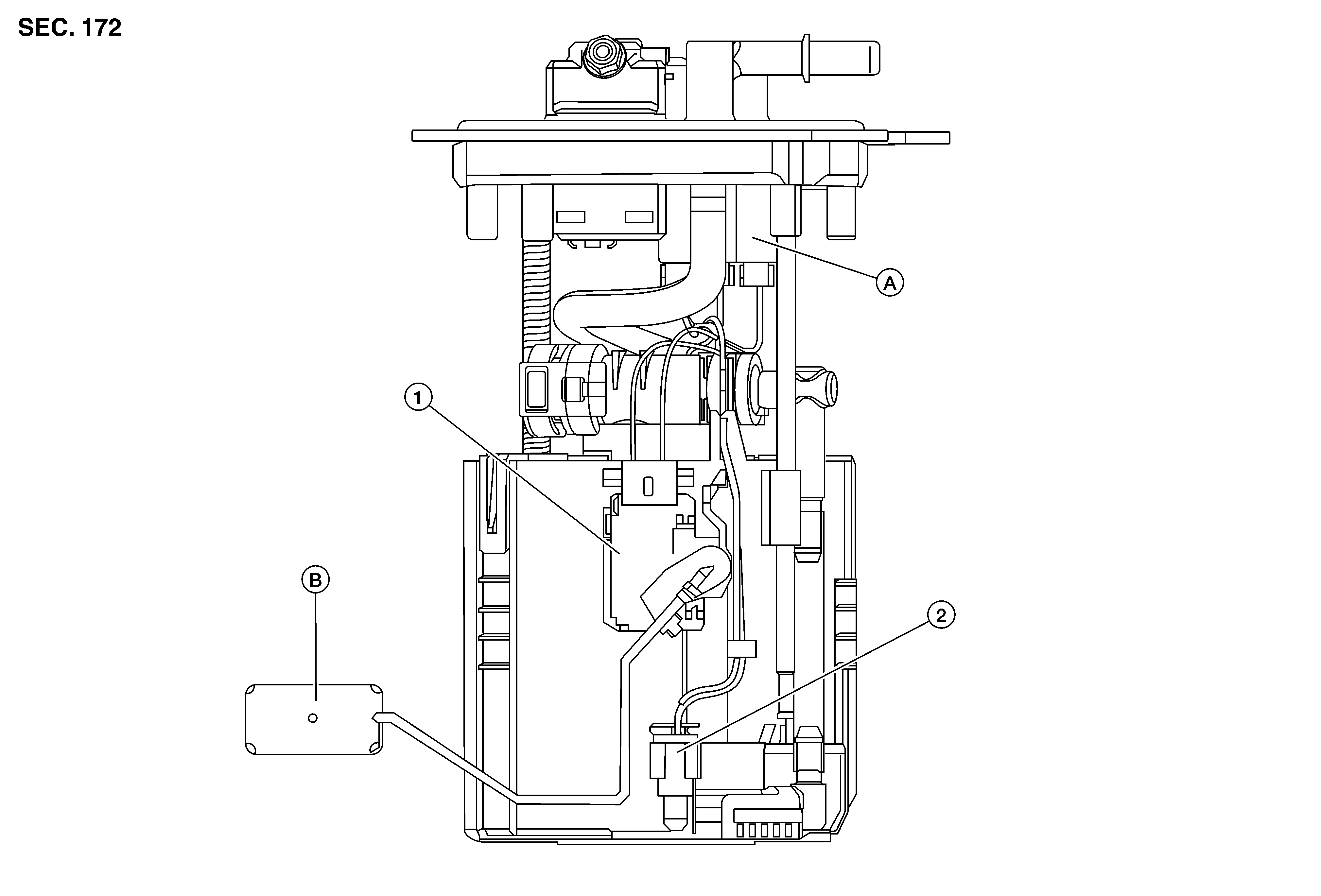
Fig 1: Fuel level Sensor Unit Components
GNSALBIA0926ZZ-926Courtesy of NISSAN NORTH AMERICA, INC.
1. Level sensor unit module 2. Fuel temperature sensor A. Harness connector
B. Float arm assembly