lemon-mirror:
Home >> Nissan-Datsun >> 2016 >> Leaf SL >> Repair and Diagnosis >> Brakes >> Traction Control >> Brake Control System >> System Description >> System >> Brake Assist Function >> System Description >> System Diagram

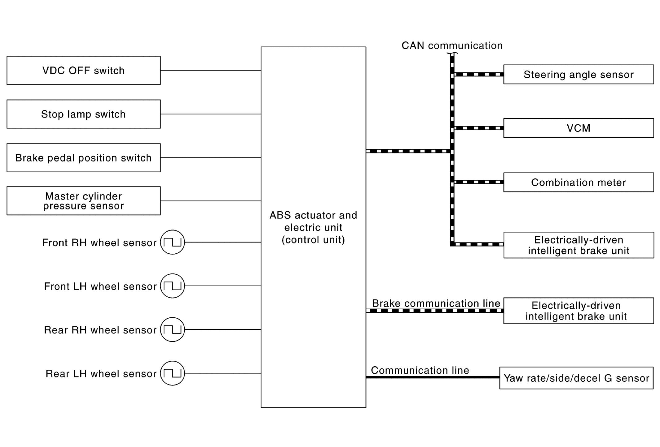
System Diagram

Fig 1: CAN Communication Diagram
G09455182Courtesy of NISSAN NORTH AMERICA, INC.