lemon-mirror:
Home >> Nissan-Datsun >> 2016 >> Rogue SL, AWD >> Repair and Diagnosis >> Body & Frame >> Windows >> Power Window Control System >> System Description >> System >> System Description >> System Diagram

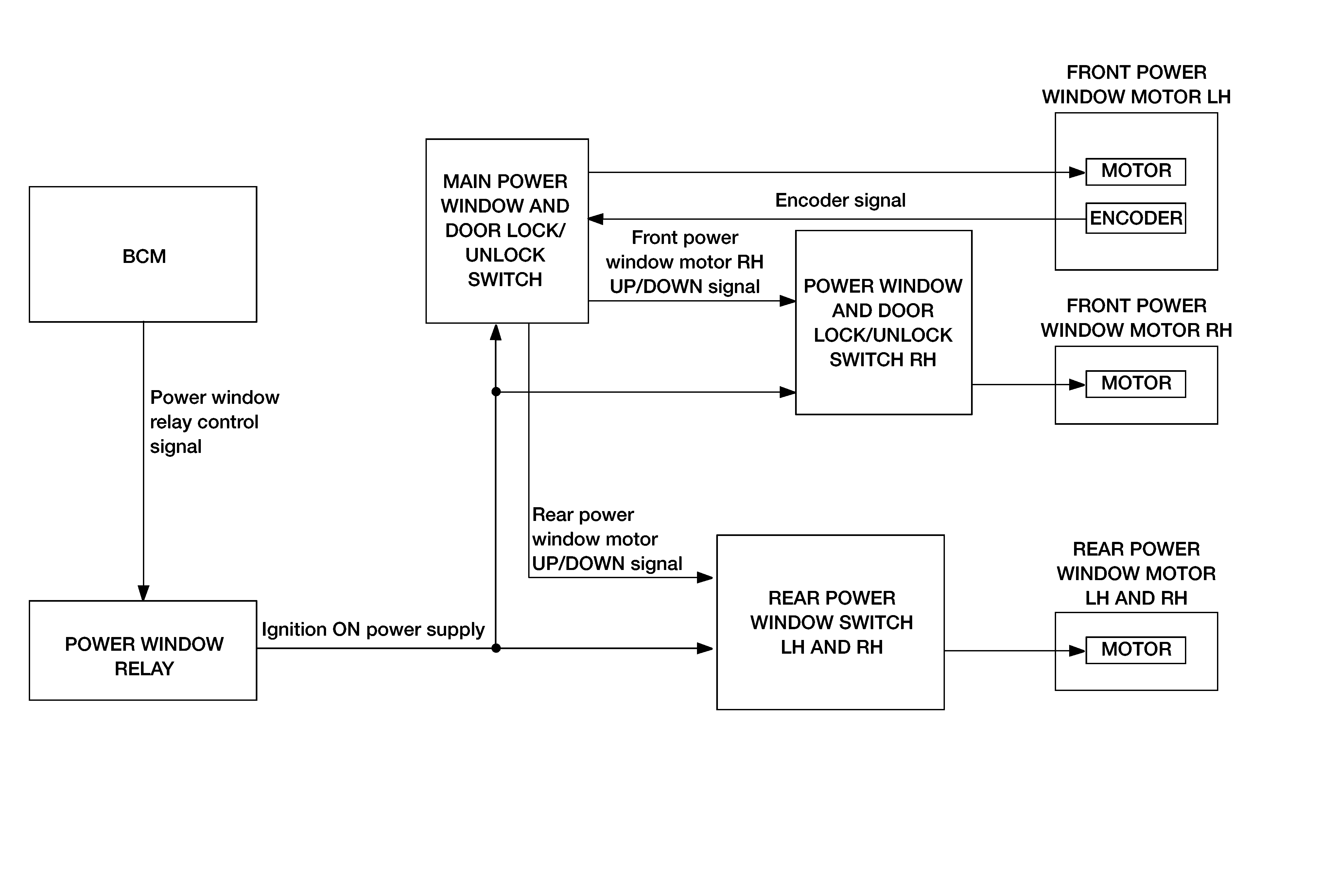
System Diagram

Fig 1: Power Window Motor System Diagram
GNSAWKIA3140GB-140Courtesy of NISSAN NORTH AMERICA, INC.