lemon-mirror:
Home >> Nissan-Datsun >> 2016 >> Sentra SL >> Repair and Diagnosis >> Suspension >> Wheel Alignment >> Front Suspension >> Unit Disassembly And Assembly >> Front Coil Spring And Strut >> Disassembly And Assembly >> Assembly

Disassembly And Assembly: Assembly

CAUTION:

Do not damage the piston rod when removing components from the front coil spring and strut.

  1. Install the lower rubber seat to the strut.
  2. Identify the upper side of the coil spring.
    Fig 1: Upper Side Of Coil Spring
    GNSJSEIA0419ZZ-419Courtesy of NISSAN NORTH AMERICA, INC.
    ARROW : Upper side
  3. Compress the coil spring using a suitable tool.
    WARNING:

    Make sure that the pawls of the suitable tool are firmly hooked on the coil spring. The suitable tool must be tightened alternately so as to not tilt the coil spring.

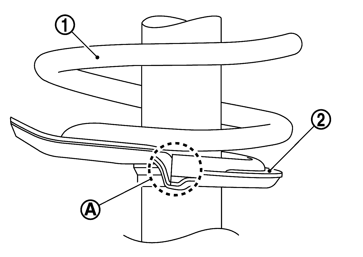
  4. Align the lower end of the coil spring (1) with the lower rubber seat (2) as shown.
    Fig 2: Aligning Lower End Of Coil Spring With Rubber Seat
    G08989981Courtesy of NISSAN NORTH AMERICA, INC.
    Maximum Gap (A) : 5 mm (0.2 in)
  5. Apply soapy water to the bound bumper.
    CAUTION:

    Do not use machine oil.

  6. Install the bound bumper to the strut.
  7. Install the strut mount bearing to the coil spring.
    CAUTION:

    Do not apply oil, such as grease, when installing the strut mount bearing.

  8. Install the strut mount insulator to the strut with the identification mark (A) of the strut mount insulator facing toward the front of the vehicle and the arrow (B) facing the outboard side.
    Fig 3: Strut Mount Insulator Identification Mark
    G06933533Courtesy of NISSAN NORTH AMERICA, INC.
    NOTE:

    The identification mark "0" shows the (RH) strut mount insulator and "1" shows the (LH).

  9. Secure the piston rod tip so that the piston rod does not turn. Install the piston rod lock nut and tighten to the specified torque.
    CAUTION:

    Do not reuse piston rod lock nut.

  10. Gradually release the suitable tool (A) and remove the suitable tool from the coil spring.
    Fig 4: Compressing Coil Spring Between Spring Upper Seat And Lower Seat Using Spring Compressor
    G05224321Courtesy of NISSAN NORTH AMERICA, INC.
    CAUTION:

    Release the suitable tool while making sure the position of the suitable tool on the coil spring does not move.

  11. Remove Tool (A) from the vise.
    Fig 5: Shock Absorber Attachment
    G05224320Courtesy of NISSAN NORTH AMERICA, INC.
  12. Remove Tool (A) from the front coil spring and strut.
  13. After replacing the strut, always follow the disposal procedure to discard the old strut. Refer to DISPOSAL .