lemon-mirror:
Home >> Nissan-Datsun >> 2016 >> Versa 1.6 SL >> Repair and Diagnosis >> Body & Frame >> Windows >> Power Window Control System >> System Description >> System >> System Diagram

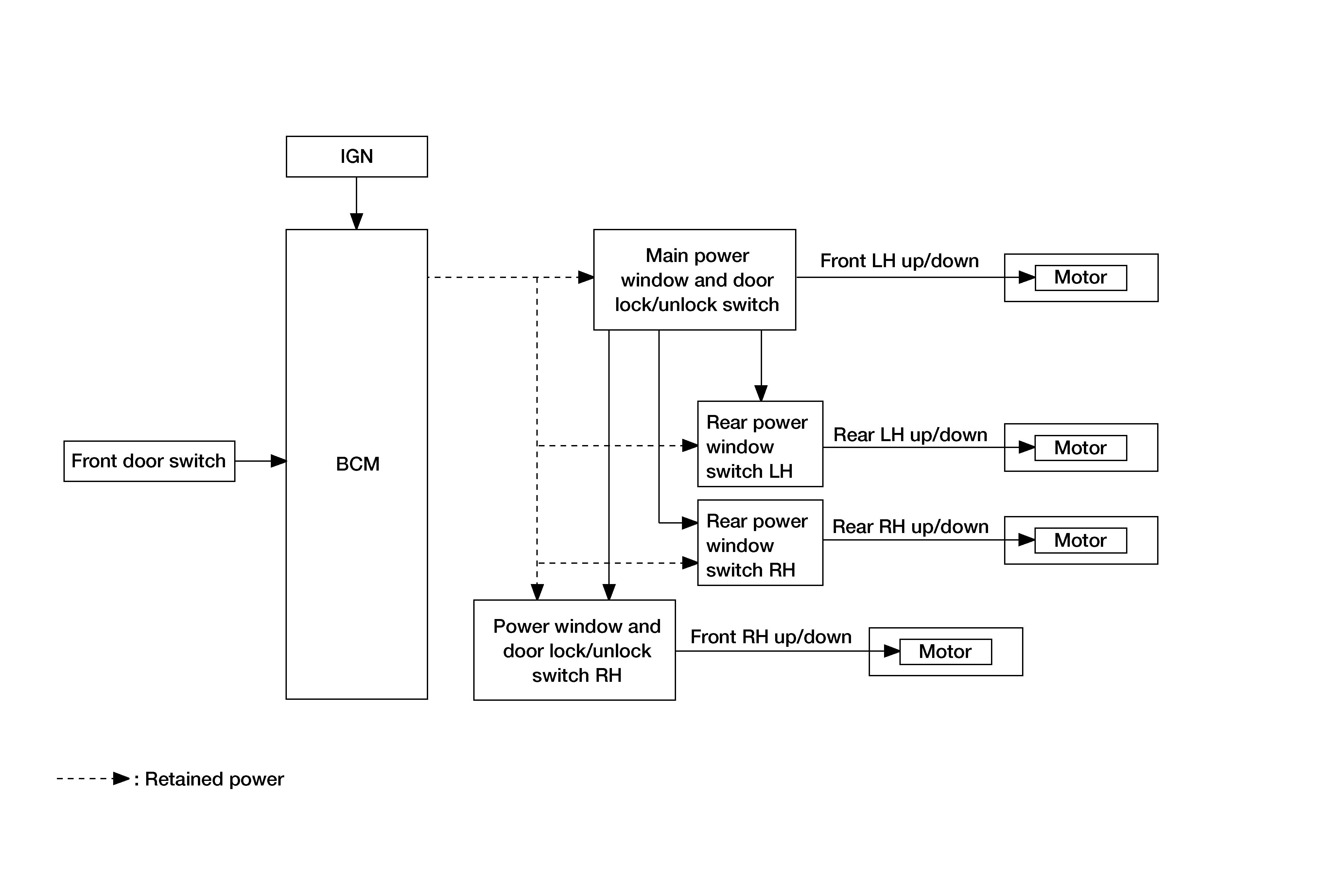
System Diagram

Fig 1: Power Window Control System Diagram
GNSAWKIA3411GB-411Courtesy of NISSAN NORTH AMERICA, INC.