lemon-mirror:
Home >> Nissan-Datsun >> 2016 >> Versa Note SL >> Repair and Diagnosis >> Electrical >> Starter >> Starting System >> System Description >> System >> Starting System (Without Intelligent Key) >> System Diagram

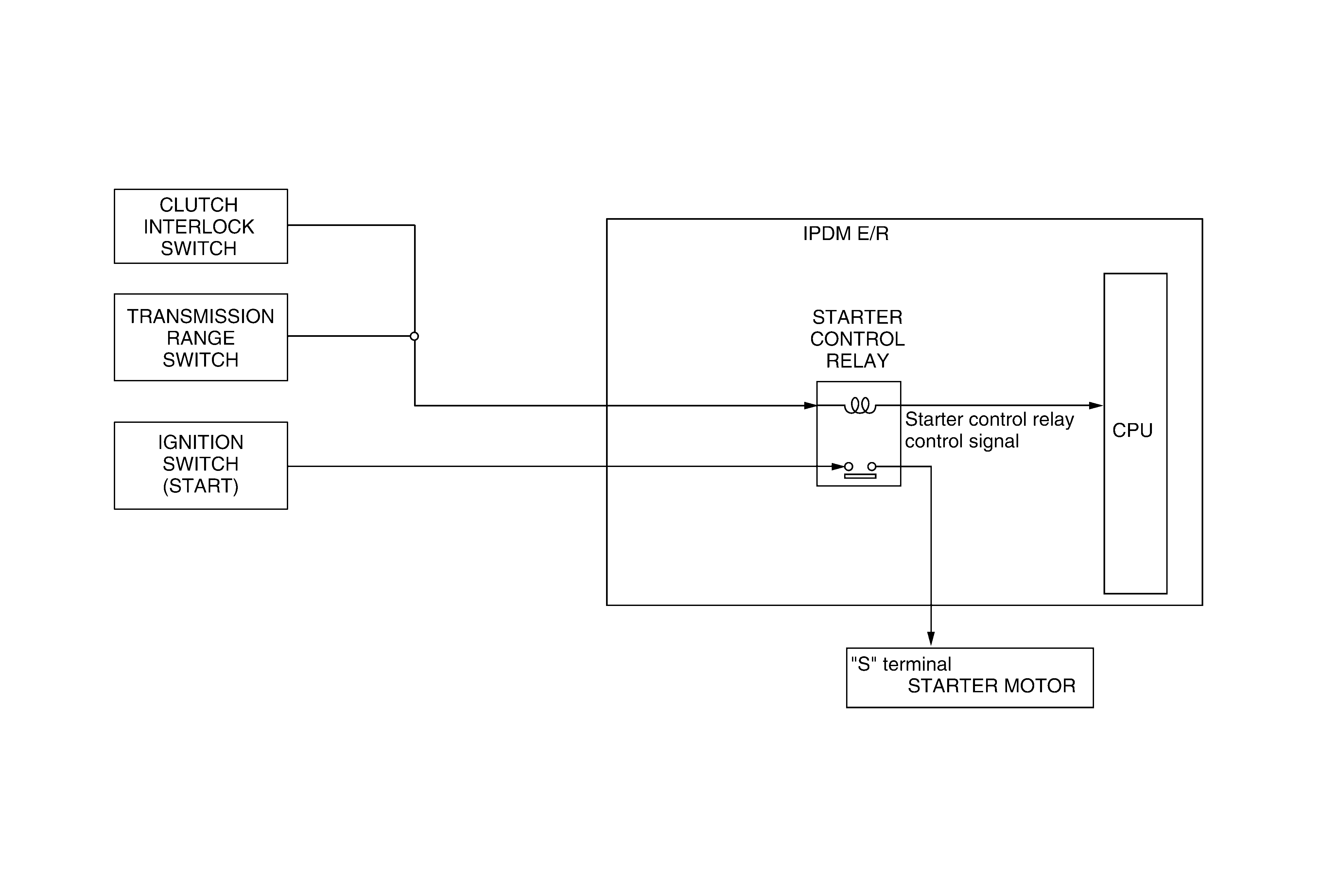
System Diagram

Fig 1: Starting (Without Intelligent Key) -- System Diagram
G09617836Courtesy of NISSAN NORTH AMERICA, INC.