lemon-mirror:
Home >> Nissan-Datsun >> 2017 >> Sentra SR >> Repair and Diagnosis >> Steering >> Steering Column >> Steering System >> Basic Inspection >> Steering Column >> Inspection >> Steering Column Assembly

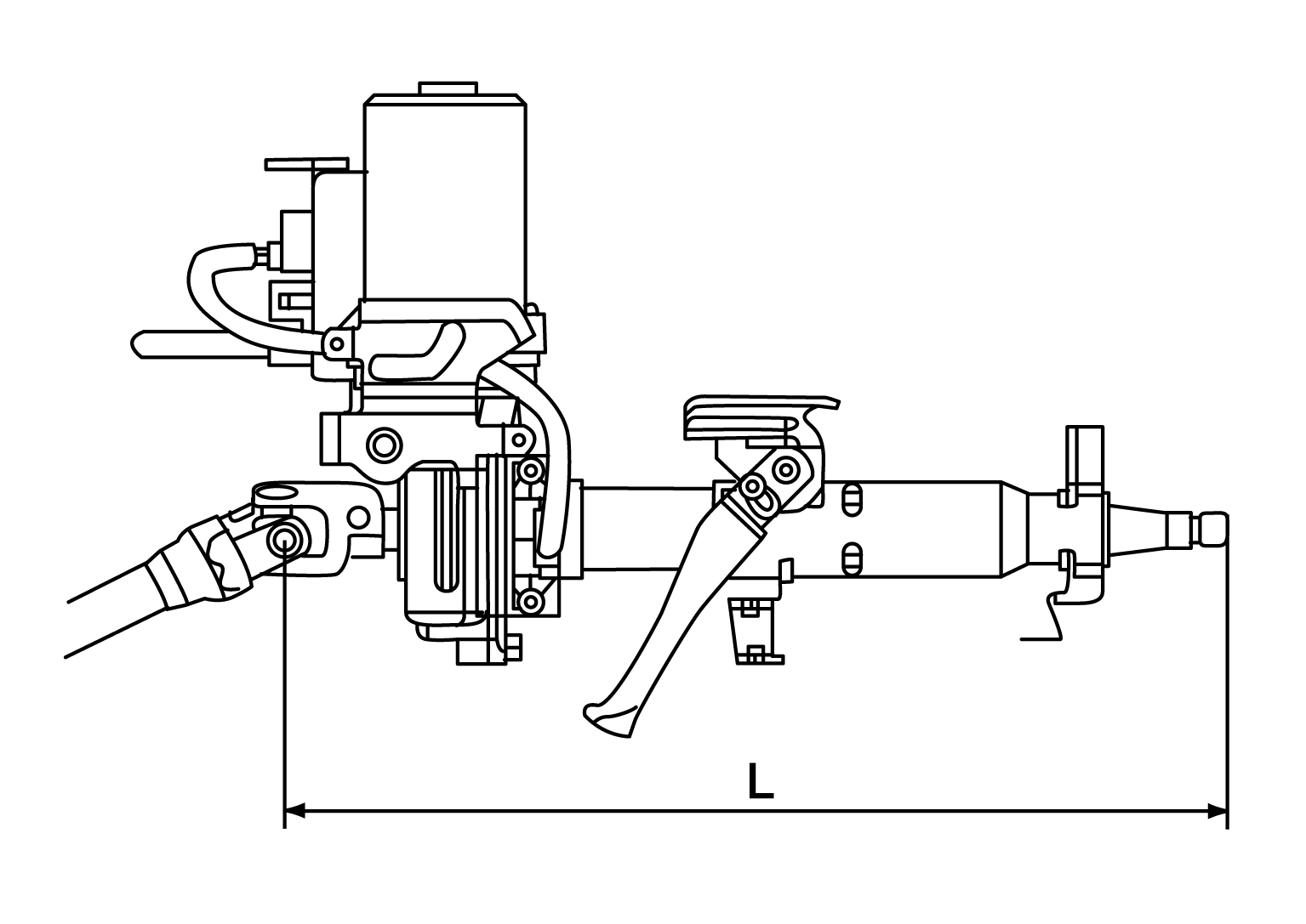
Steering Column Assembly