lemon-mirror:
Home >> Nissan-Datsun >> 2017 >> Versa Note SL >> Repair and Diagnosis >> Electrical >> Starter >> Starting System >> System Description >> System >> Starting System (With Intelligent Key) >> System Diagram

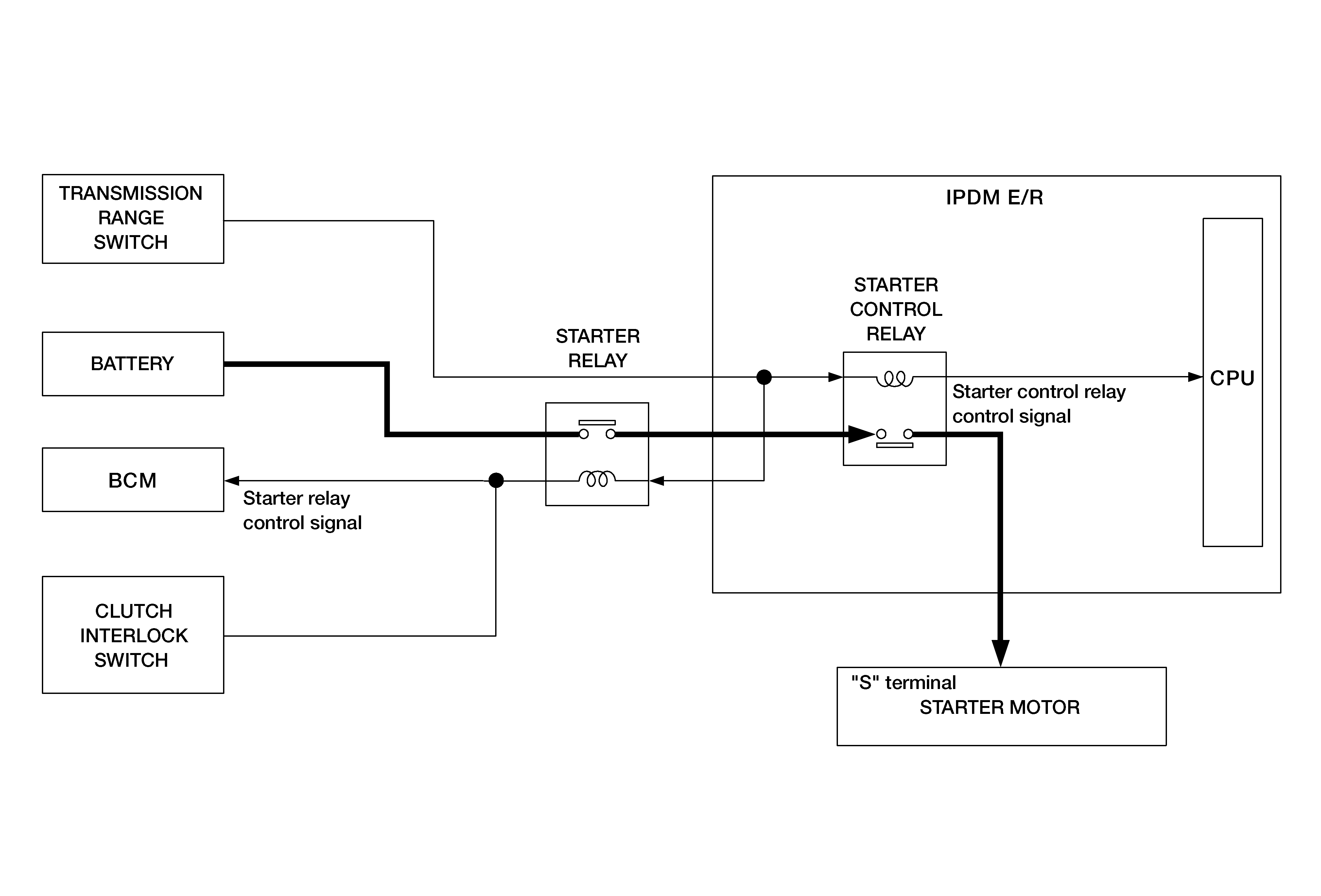
System Diagram

GNSALBIA1231GB-231Courtesy of NISSAN NORTH AMERICA, INC.