lemon-mirror:
Home >> Nissan-Datsun >> 2018 >> Versa Note S >> Repair and Diagnosis >> Body & Frame >> Door Locks >> Security Control System (With Intelligent Key System) >> System Description >> System >> Intelligent Key System/Engine Start Function >> System Description >> System Diagram

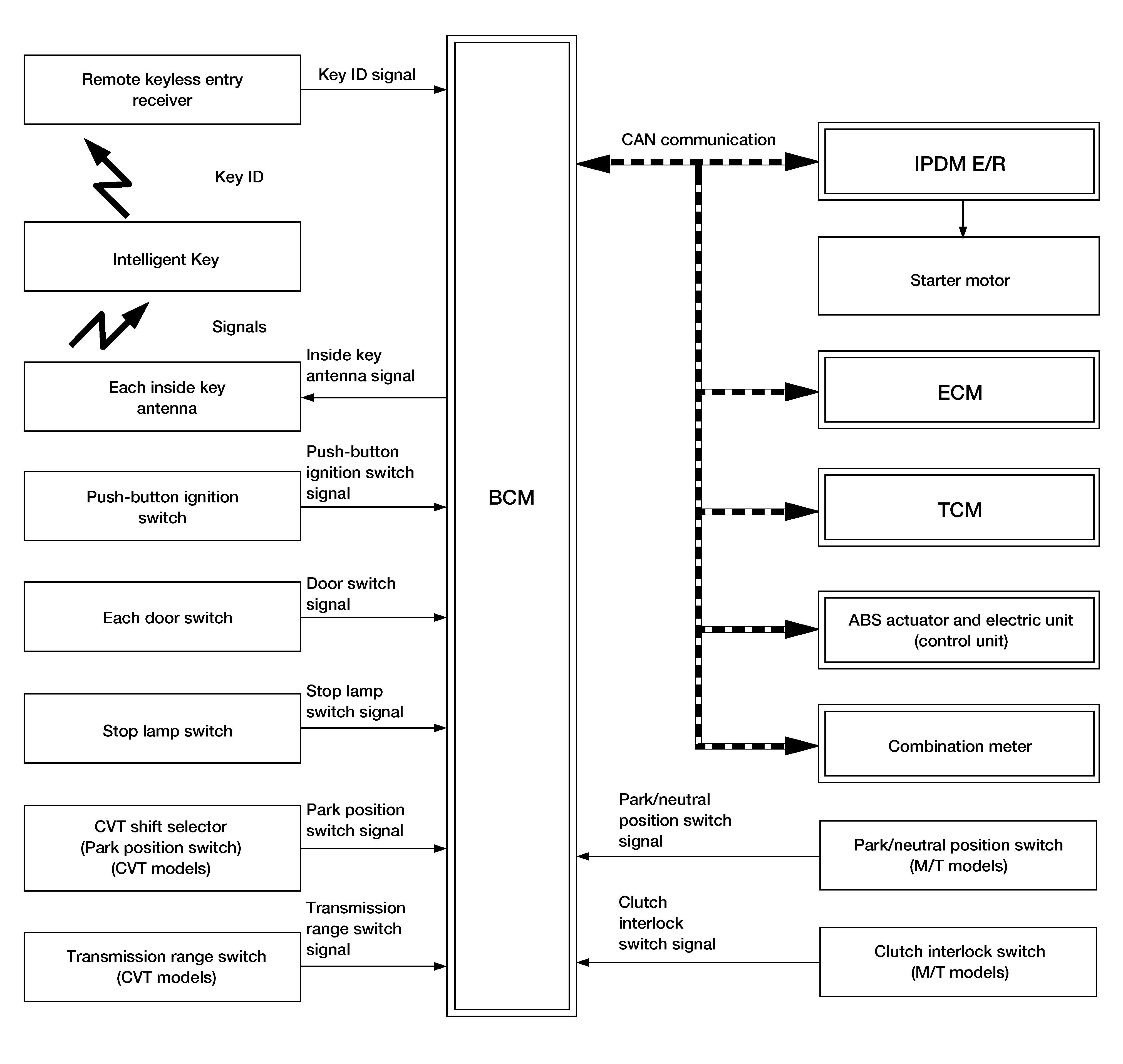
System Diagram

GNSALKIA3646GB-646Courtesy of NISSAN NORTH AMERICA, INC.