lemon-mirror:
Home >> Nissan-Datsun >> 2020 >> Altima SL, FWD >> Repair and Diagnosis >> Body & Frame >> Windows >> Power Window Control System >> RH Front Anti-Pinch >> System Description >> System >> Power Window System >> System Description

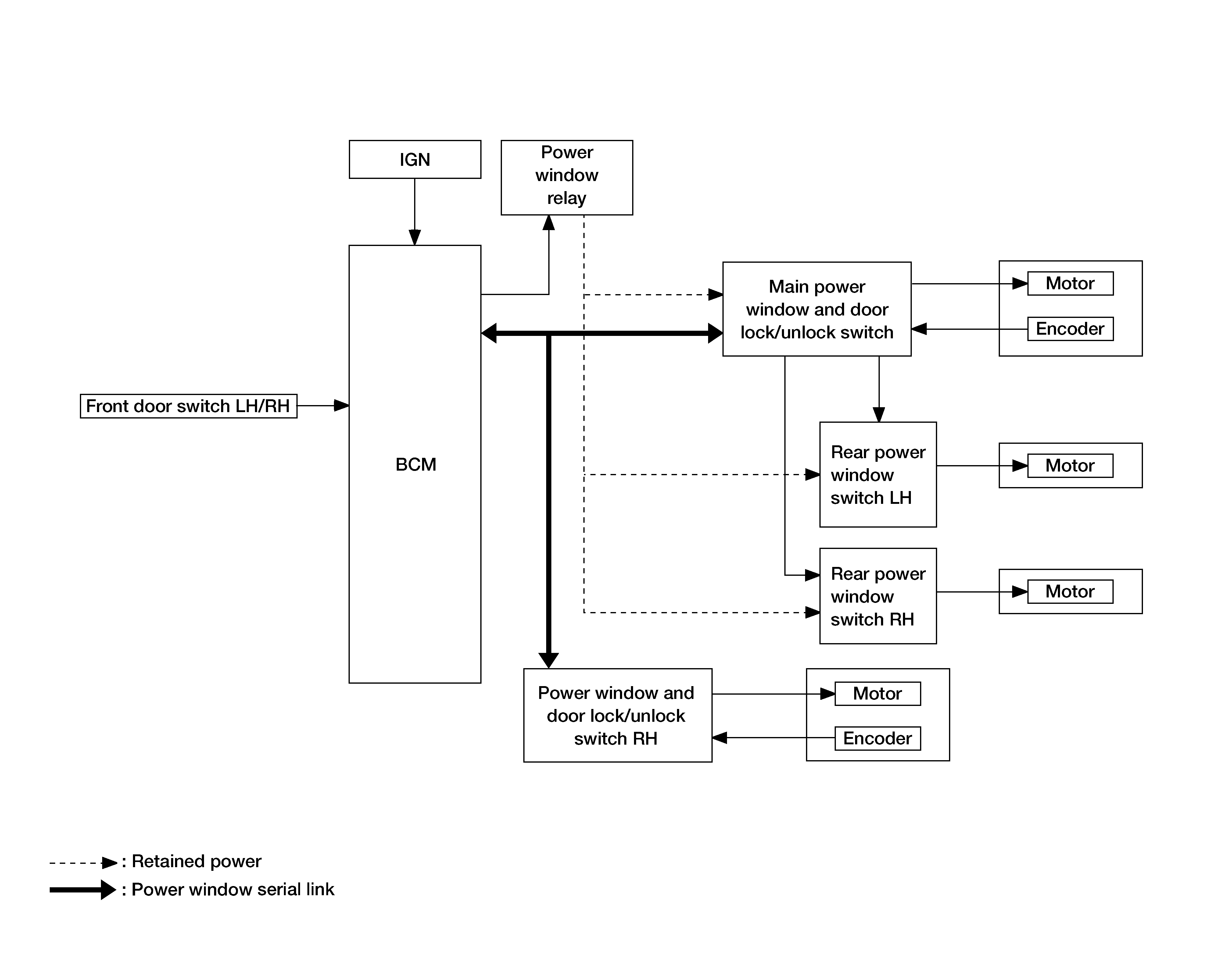
System Description

GNSAWKIA0210Z-210Courtesy of NISSAN NORTH AMERICA, INC.

INPUT/OUTPUT SIGNAL CHART

Item

Input signal to main power window and door lock/unlock switch

Main power window and door lock/unlock switch function

Actuator

Encoder

Encoder pulse signal

Power window control

Front power window motor

Main power window and door lock/unlock switch

Front power window motor LH UP/DOWN signal

Power window and door lock/unlock switch RH

Front power window motor RH UP/DOWN signal

BCM

RAP signal

Rear power window switch

Rear power window motor UP/DOWN signal

Rear power window motor