lemon-mirror:
Home >> Nissan-Datsun >> 2021 >> Altima S >> Repair and Diagnosis >> Brakes >> Traction Control >> Brake Control System >> Description >> System >> EBD Function >> System Description >> System Diagram

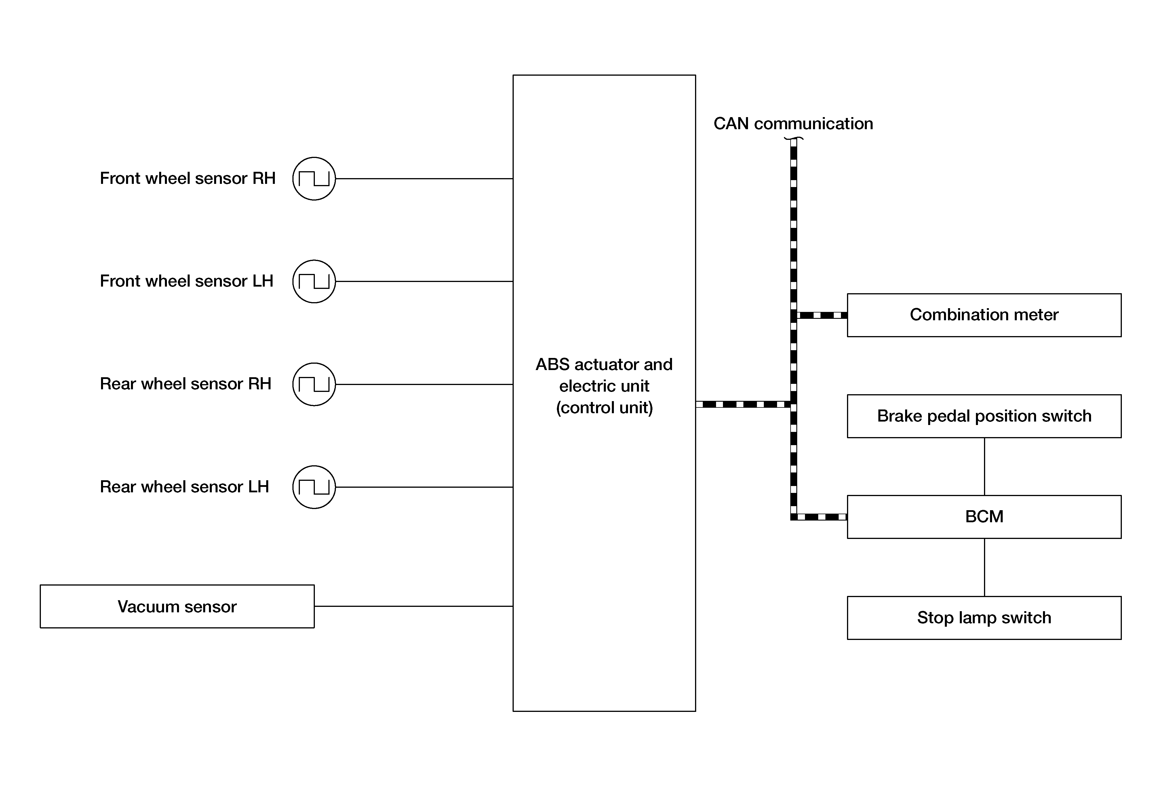
System Diagram

GNSAWFIA0066GB-066Courtesy of NISSAN NORTH AMERICA, INC.