lemon-mirror:
Home >> Nissan-Datsun >> 2021 >> Altima S >> Repair and Diagnosis >> Electrical >> Body Electrical >> Body Control System >> System Description >> System >> Combination Switch Reading System >> System Description >> Combination Switch Matrix

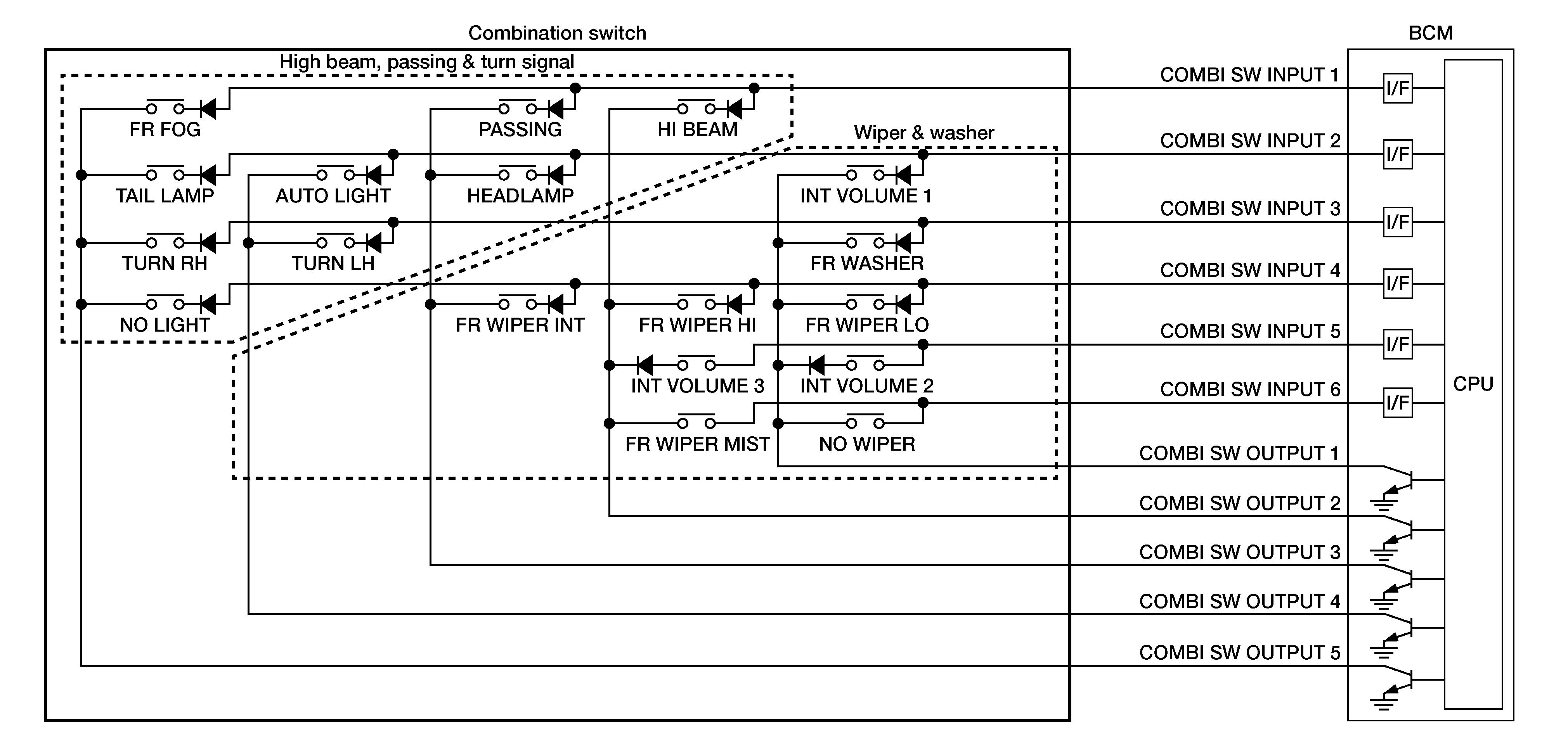
Combination Switch Matrix

G05698003Courtesy of NISSAN NORTH AMERICA, INC.
Combination switch INPUT-OUTPUT system list

System

INPUT 1

INPUT 2

INPUT 3

INPUT 4

INPUT 5

INPUT 6

OUTPUT 1

--

INT VOLUME 1

FR WASHER

FR WIPER LO

INT VOLUME 2

NO WIPER

OUTPUT 2

HI BEAM

--

--

FR WIPER HI

INT VOLUME 3

FR WIPER MIST

OUTPUT 3

PASSING

HEADLAMP

--

FR WIPER INT

--

--

OUTPUT 4

--

AUTO LIGHT

TURN LH

--

--

--

OUTPUT 5

FR FOG

TAIL LAMP

TURN RH

NO LIGHT

--

--