lemon-mirror:
Home >> Nissan-Datsun >> 2021 >> Altima SL, FWD >> Repair and Diagnosis >> Brakes >> Traction Control >> Brake Control System >> Description >> System >> Brake Control System >> System Description >> System Diagram

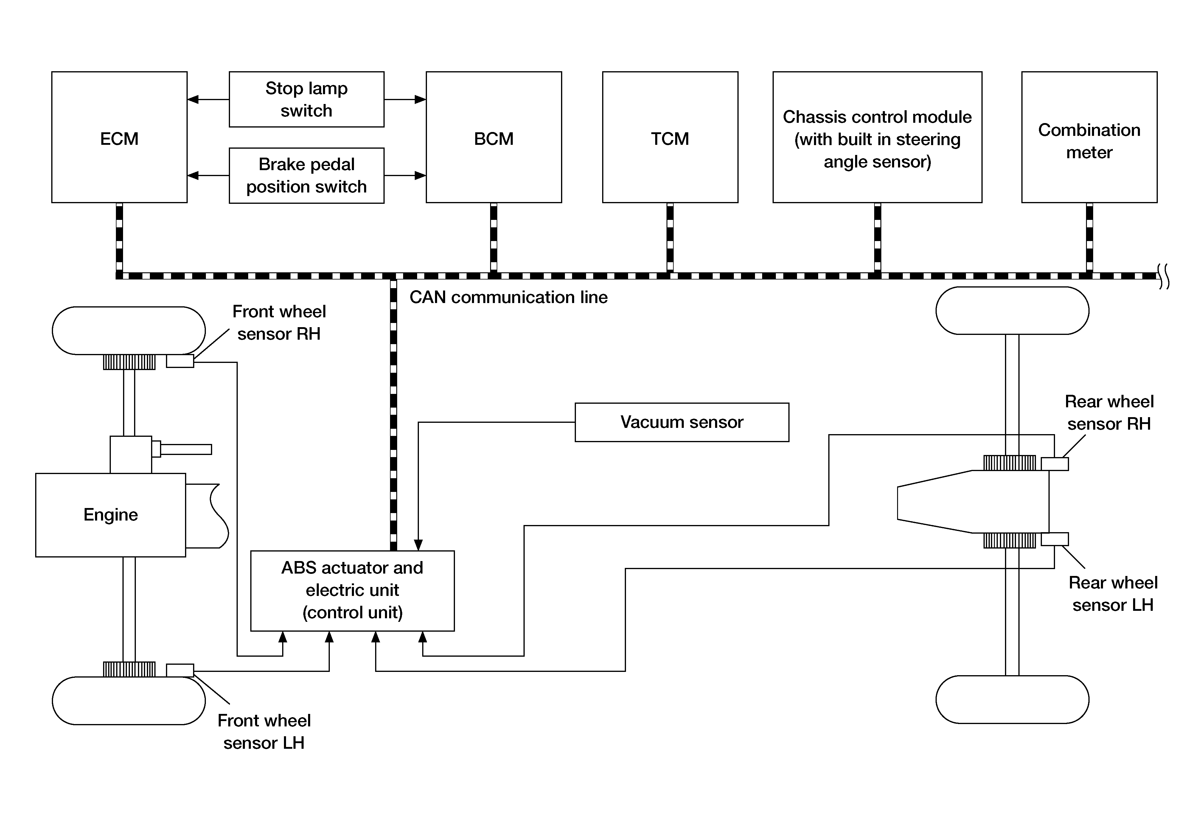
System Diagram

G05706690Courtesy of NISSAN NORTH AMERICA, INC.