lemon-mirror:
Home >> Nissan-Datsun >> 2021 >> Frontier PRO-4X >> Repair and Diagnosis >> Body & Frame >> Windows >> Power Window Control System >> System Description >> Power Window System >> System Diagram

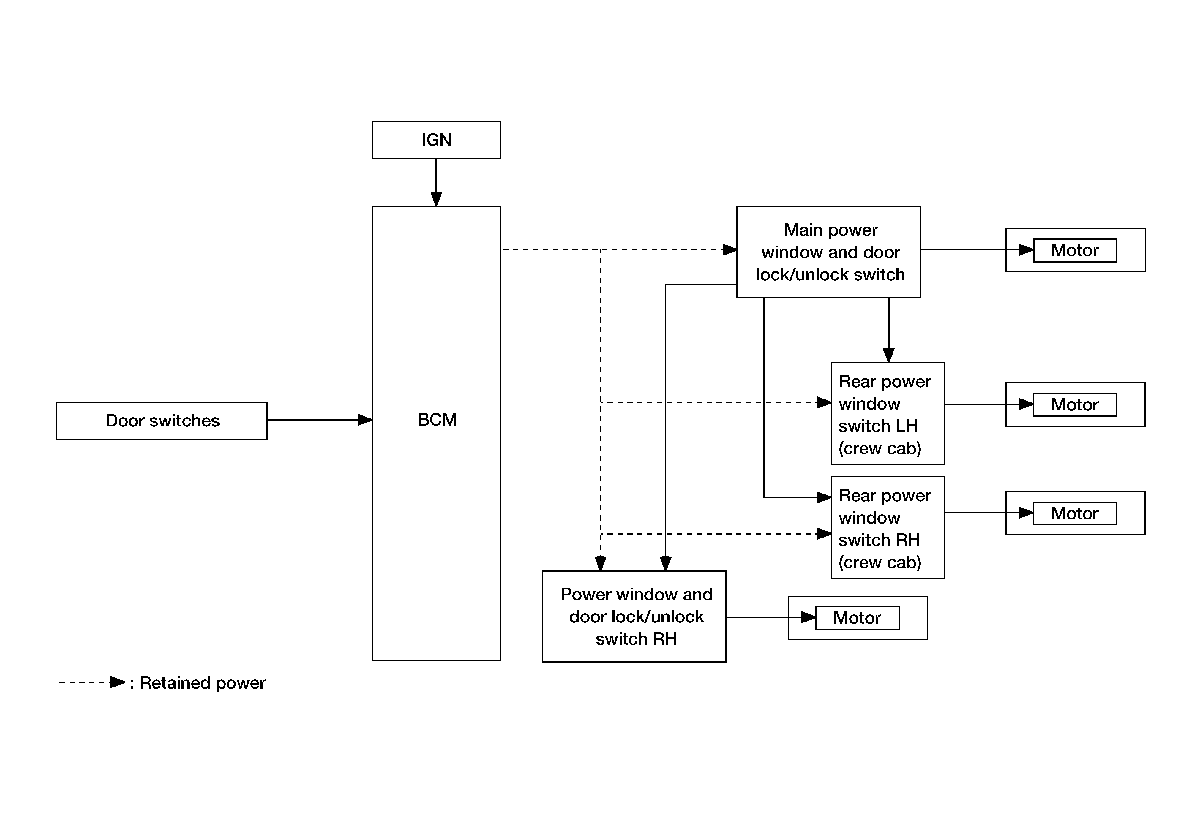
System Diagram

GNSAWKIA4256GB-256Courtesy of NISSAN NORTH AMERICA, INC.